×
Genuine KE Kawasaki Parts delivered quickly!
home
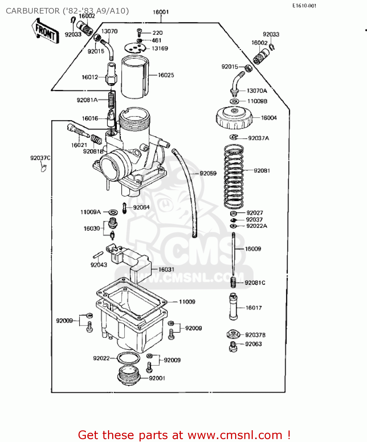
CARBURETOR ('82-'83 A9/A10)
KE125-A7 KE125 1980 USA CANADA
Carburetor ('82-'83 a9/a10) diagram KE125-A7 KE125 1980 USA CANADA
CARBURETOR ('82-'83 A9/A10) KE125-A7 KE125 1980 USA CANADA
×
prices are in EUR
ref
part #
description
quantity
11009
16019023
ref: 11009
GASKET,FLOAT CHAMBER (NAS)
€ 10.00
11009A
16029004
ref: 11009A
WASHER-FLOAT VLV SEAT
€ 2.50
11009B
16029007
ref: 11009B
GASKET,CABLE GUIDE (NAS)
€ 5.50
13070
16077010
ref: 13070
GUIDE,CABLE
€ 13.00
13070A
16077011
ref: 13070A
GUIDE,CABLE
€ 13.50
13169
131691123
ref: 13169
THROTTLE VALVE PLATE
€ 5.50
16001
160011243
ref: 16001
CARBURETOR ASSEMBLY
€ 209.00
16002
16002007
ref: 16002
ADJUSTER-CABLE,THROTT
€ 7.50
16004
16004024
ref: 16004
CAP,MIXING CHAMBER
€ 13.50
16009
160091066
ref: 16009
JET,NEEDLE,5EL24
€ 21.00
16012
16012017
ref: 16012
CAP-STARTER PLUNGER
€ 11.50
16016
16016002
ref: 16016
PLUNGER,STARTER
€ 20.00
16017
160171062
ref: 16017
JET,NEEDLE,#AO-0
€ 24.00
16021
16021023
ref: 16021
SCREW-THROTTLE STOP
€ 12.50
16025
160251018
ref: 16025
THROTTLE VALVE,CA2.5
€ 49.00
16030
16030024
ref: 16030
VALVE-FLOAT
€ 30.50
16031
16031026
ref: 16031
FLOAT
€ 40.00
92001
92001146
ref: 92001
BOLT,BANJO
€ 12.50
92009
223B0414
ref: 92009
SCREW PAN-WS-CROS
€ 2.50
92015
16003004
ref: 92015
NUT-CABLE ADJUST LOCK
€ 4.50
92022
16034008
ref: 92022
WASHER,MAIN JET COVER (NAS)
€ 4.00
92022A
920221024
ref: 92022A
WASHER,THROTTLE VALVE
€ 4.50
92027
920271103
ref: 92027
RING,JET NEEDLE
€ 4.50
92033
92036018
ref: 92033
CIRCLIP
€ 2.50
92037
16008010
ref: 92037
CLAMP,E-TYPE
€ 5.00
92037A
16008011
ref: 92037A
CLAMP,CABLE GUIDE
€ 4.50
92037B
16008012
ref: 92037B
RING,MAIN JET HOLD
€ 13.50
92037C
92037010
ref: 92037C
CLAMP-FUEL PIPE
€ 2.50
92043
16032006
ref: 92043
PIN,FLOAT
€ 4.00
92059
920591011
ref: 92059
TUBE, CARB. BREATHER
€ 6.50
92063
920631085
ref: 92063
JET,MAIN,#A92.5R
€ 8.00
92064
920641020
ref: 92064
JET-PILOT,#A25
€ 12.50
92081
16006024
ref: 92081
SPRING,THROTTLE VALV
€ 7.50
92081A
16013003
ref: 92081A
SPRING-STARTER PLUNG
€ 4.00
92081B
16022005
ref: 92081B
SPRING-THR STOP SCREW
€ 5.50
92081C
920811072
ref: 92081C
NEEDLE JET SPRING
€ 2.50
220
220B0308
ref: 220
SCREW-PAN-CROS
€ 0.50
461
461F0300
ref: 461
WASHER-SPRING,3MM
€ 0.50
up
all assemblies
KICKSTARTER MECHANISM ('80-'81 A
ENGINE COVERS ('80-81 A7/A8)
OIL PUMP ('80-'81 A7/A8)
CARBURETOR ('80-'81 A7/A8)
HEADLIGHT ('82-'83 A9/A10)
TAILLIGHT ('82-'83 A9/A10)
TURN SIGNALS ('82-'83 A9/A10)
CHASSIS ELECTRICAL EQUIPMENT ('8
IGNITION SWITCH/LOCKS/REFLECTORS
MUFFLER ('82-'83 A9/A10)
IGNITION COIL ('82-'83 A9/A10)
GENERATOR/REGULATOR ('82-'83 A9/
AIR CLEANER ('80-'81 A7/A8)
MUFFLER ('80-'81 A7/A8)
IGNITION/GENERATOR ('80-'81 A7/A
TURN SIGNALS ('80-'81 A7/A8)
IGNITION SWITCH/LOCKS/REFLECTORS
CHASSIS ELECTRICAL EQUIPMENT ('8
OWNER TOOLS ('80-'81 A7/A8)
FRAME ('82-'83 A9/A10)
FRAME FITTINGS ('82-'83 A9/A10)
SWING ARM/SHOCK ABSORBERS ('82-'
FOOTRESTS ('82-'83 A9/A10)
STAND ('82-'83 A9/A10)
BRAKE PEDAL/TORQUE LINK ('82-'83
HANDLEBAR ('82-'83 A9/A10)
FRAME ('80-'81 A7/A8)
FRAME FITTINGS ('80-'81 A7/A8)
SWING ARM/SHOCK ABSORBERS ('80-'
FOOTRESTS/STAND ('80-'81 A7/A8)
BRAKE PEDAL/TORQUE LINK ('80-'81
HANDLEBAR ('80-'81 A7/A8)
FRONT FORK ('80-'81 A7/A8)
FENDERS ('82-'83 A9/A10)
FUEL TANK ('82-'83 A9/A10)
SIDE COVERS/CHAIN COVER ('82-'83
OIL TANK ('82-'83 A9/A10)
SEAT ('82-'83 A9/A10)
CABLES ('82-'83 A9/A10)
METER ('82-'83 A9/A10)
SIDE COVERS/CHAIN COVER ('80-'81
OIL TANK ('80-'81 A7/A8)
SEAT ('80-'81 A7/A8)
CABLES ('80-'81 A7/A8)
METER ('80-'81 A7/A8)
HEADLIGHT ('80-'81 A7/A8)
TAILLIGHT ('80-'81 A7/A8)
LABELS ('82-'83 A9/A10)
OWNER TOOLS (KE125-A9)
OWNER TOOLS (KE125-A10)
FRONT FORK (KE125-A9)
FRONT FORK (KE125-A10)
WHEELS/TIRES ('82-'83 A9/A10)
FRONT HUB/BRAKE ('82-'83 A9/A10)
REAR HUB/BRAKE/CHAIN ('82-'83 A9
WHEELS/TIRES ('80-81 A7/A8)
FRONT HUB/BRAKE ('80-'81 A7/A8)
REAR HUB/BRAKE/CHAIN ('80-'81 A7
FENDERS ('80-'81 A7/A8)
FUEL TANK ('80-'81 A7/A8)
CYLINDER HEAD/CYLINDER ('82-'83
CRANKSHAFT/PISTON/ROTARY VALVE (
CRANKCASE ('82-'83 A9/A10)
CLUTCH ('82-'83 A9/A10)
TRANSMISSION ('82-'83 A9/A10)
GEAR CHANGE DRUM & FORKS ('82-'8
GEAR CHANGE MECHANISM ('82-'83 A
KICKSTARTER MECHANISM ('82-'83 A
ENGINE COVERS ('82-'83 A9/A10)
OIL PUMP ('82-'83 A9/A10)
CARBURETOR ('82-'83 A9/A10)
AIR CLEANER ('82-'83 A9/A10)
CYLINDER HEAD/CYLINDER ('80-'81
CRANKSHAFT/PISTON/ROTARY VALVE (
CRANKCASE ('80-'81 A7/A8)
CLUTCH ('80-'81 A7/A8)
TRANSMISSION ('80-'81 A7/A8)
GEAR CHANGE DRUM & FORKS ('80-'8
GEAR CHANGE MECHANISM ('80-'81 A
up