×
Genuine KZ Kawasaki Parts delivered quickly!
home
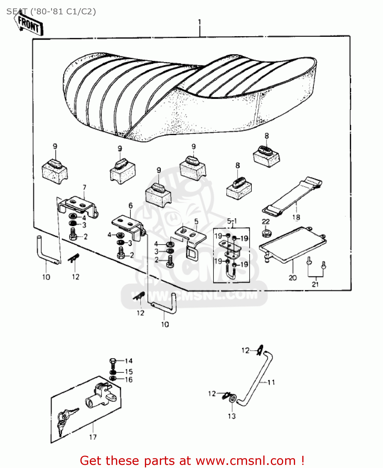
SEAT ('80-'81 C1/C2)
KZ550C1 LTD 1980 USA CANADA
Seat ('80-'81 c1/c2) diagram KZ550C1 LTD 1980 USA CANADA
SEAT ('80-'81 C1/C2) KZ550C1 LTD 1980 USA CANADA
×
prices are in EUR
ref
part #
description
quantity
1
530011114
ref: 1
KZ550-C1
SEAT-ASSY,DUAL
€ 441.00
1
530011114
ref: 1
KZ550-C2
SEAT-ASSY,DUAL
€ 441.00
2
112G0616
ref: 2
BOLT UPSET,6X16
€ 1.00
3
461F0600
ref: 3
WASHER-SPRING,6MM
€ 0.50
4
411B0600
ref: 4
WASHER-PLAIN,6MM
€ 0.50
5
270121011
ref: 5
USE FOR 53001-1088
HOOK,SEAT
€ 10.50
5-1
530451002
ref: 5-1
USE FOR 53001-1114
HOOK ASSY,SEAT
€ 8.50
6
530091023
ref: 6
HINGE,SEAT,FRONT
€ 7.50
7
530091024
ref: 7
HINGE,SEAT,REAR
€ 8.50
8
92075099
ref: 8
DAMPER RUBBER
€ 3.50
9
92075156
ref: 9
DAMPER,SEAT
€ 6.50
10
53011008
ref: 10
PIN,SEAT PIVOT
€ 4.00
11
53054006
ref: 11
STOPPER, SEAT
€ 4.00
12
554A0600
ref: 12
PIN-SNAP,SIDE STAND
€ 0.50
13
920221565
ref: 13
WASHER,6.5X16X2
€ 2.50
14
112B0614
ref: 14
BOLT-UPSET 6X14
€ 2.50
15
461F0600
ref: 15
WASHER-SPRING,6MM
€ 0.50
16
411B0600
ref: 16
WASHER-PLAIN,6MM
€ 0.50
17
270165010
ref: 17
LOCK-ASSY,SEAT
€ 72.50
18
920721044
ref: 18
BAND
€ 8.00
19
312B0600
ref: 19
NUT,6MM
€ 0.50
20
32099011
ref: 20
CASE,MANUAL
€ 11.50
21
920091043
ref: 21
SCREW,TAPPING,5X8
€ 3.00
22
92071056
ref: 22
GROMMET
€ 2.50
up
all assemblies
OIL PUMP/OIL FILTER ('82-'83 C3/
CARBURETOR ASSY ('82-'83 C3/C4)
CARBURETOR PARTS ('82-'83 C3/C4)
FRAME ('80-'81 C1/C2)
FRAME FITTINGS/BATTERY CASE ('80
SWING ARM/SHOCK ABSORBERS ('80-'
FOOTRESTS ('80-'81 C1/C2)
STANDS/BRAKE PEDAL ('80-'81 C1/C
HANDLEBAR ('80-'81 C1/C2)
FRAME ('82-'83 C3/C4)
FRAME FITTINGS ('82-'83 C3/C4)
BATTERY CASE/ELECTRO BRACKET ('8
SWING ARM/SHOCK ABSORBERS ('82-'
FOOTRESTS ('82-'83 C3/C4)
CRANKCASE BOLT & STUD PATTERN ('
STANDS ('82-'83 C3/C4)
CLUTCH ('80-'81 C1/C2)
BRAKE PEDAL/TORQUE LINK ('82-'83
TRANSMISSION ('80-'81 C1/C2)
GEAR CHANGE DRUM & FORKS ('80-'8
GEAR CHANGE MECHANISM ('80-'81 C
REAR WHEEL/HUB/BRAKE/CHAIN ('80-
FENDERS ('80-'81 C1/C2)
FUEL TANK ('80-'81 C1/C2)
SIDE COVERS/CHAIN COVER ('80-'81
SEAT ('80-'81 C1/C2)
CABLES ('80-81 C1/C2)
METERS ('80-'81 C1/C2)
HANDLEBAR ('82-'83 C3/C4)
FRONT FORK (KZ550-C3)
FRONT FORK (KZ550-C4)
FRONT MASTER CYLINDER ('82-'83 C
FRONT BRAKE ('82-'83 C3/C4)
HEADLIGHT ('80-'81 C1/C2)
TAILLIGHT ('80-'81 C1/C2)
TURN SIGNALS ('80-'81 C1/C2)
IGNITION SWITCH/LOCKS/REFLECTORS
TIRES ('82-'83 C3/C4)
FRONT WHEELS/HUB ('82-'83 C3/C4)
REAR WHEEL/HUB/BRAKE/CHAIN ('82-
FENDERS ('82-'83 C3/C4)
FUEL TANK ('82-'83 C3/C4)
SIDE COVERS/CHAIN COVER ('82-'83
SEAT ('82-'83 C3/C4)
CHASSIS ELECTRICAL EQUIPMENT ('8
OWNER TOOLS ('80-'81 C1/C2)
SPECIAL SERVICE TOOLS "A" ('80-'
SPECIAL SERVICE TOOLS "B" ('80-'
CRANKCASE BOLT & STUD PATTERN ('
CLUTCH ('82-'83 C3/C4)
TRANSMISSION ('82-'83 C3/C4)
GEAR CHANGE DRUM & FORKS ('82-'8
GEAR CHANGE MECHANISM ('82-'83 C
IGNITION SWITCH/LOCKS/REFLECTORS
CHASSIS ELECTRICAL EQUIPMENT ('8
LABELS ('82-'83 C3/C4)
AIR CLEANER ('80-'81 C1/C2)
OWNER TOOLS (KZ550-C3)
MUFFLERS ('80-'81 C1/C2)
OWNER TOOLS ('82-'83 C3/C4)
IGNITION ('80-'81 C1/C2)
GENERATOR/REGULATOR ('80-'81 C1/
STARTER MOTOR/STARTER CLUTCH ('8
CYLINDER HEAD COVER ('80-'81 C1/
CABLES ('82-'83 C3/C4)
CYLINDER HEAD ('80-'81 C1/C2)
METERS ('82-'83 C3/C4)
VALVES ('80-'81 C1/C2)
HEADLIGHT ('82-'83 C3/C4)
CAMSHAFTS/CHAIN/TENSIONER ('80-'
TAILLIGHT ('82-'83 C3/C4)
CYLINDER/PISTONS ('80-'81 C1/C2)
TURN SIGNALS ('82-'83 C3/C4)
CRANKSHAFT/SECONDARY SHAFT ('80-
CRANKCASE ('80-'81 C1/C2)
CYLINDER HEAD COVERS ('82-'83 C3
CYLINDER HEAD ('82-'83 C3/C4)
VALVES ('82-'83 C3/C4)
CAMSHAFTS/CHAIN/TENSIONER ('82-'
CYLINDER/PISTONS ('82-'83 C3/C4)
CRANKSHAFT/SECONDARY SHAFT ('82-
CRANKCASE ('82-'83 C3/C4)
ENGINE COVERS ('80-'81 C1/C2)
BREATHER COVER/OIL PAN ('80-'81
OIL PUMP/OIL FILTER ('80-'81 C1/
CARBURETOR ASSY ('80-'81 C1/C2)
CARBURETOR PARTS ('80-'81 C1/C2)
AIR CLEANER ('82-'83 C3/C4)
MUFFLERS ('82-'83 C3/C4)
IGNITION ('82-'83 C3/C4)
GENERATOR/REGULATOR ('82-'83 C3/
STARTER MOTOR/STARTER CLUTCH ('8
FRONT FORK ('80-'81 C1/C2)
FRONT MASTER CYLINDER ('80-'81 C
FRONT BRAKE ('80-'81 C1/C2)
TIRES ('80-'81 C1/C2)
FRONT WHEEL/HUB ('80-'81 C1/C2)
ENGINE COVERS ('82-'83 C3/C4)
BREATHER COVER/OIL PAN ('82-'83
up