×
Genuine KZ Kawasaki Parts delivered quickly!
home
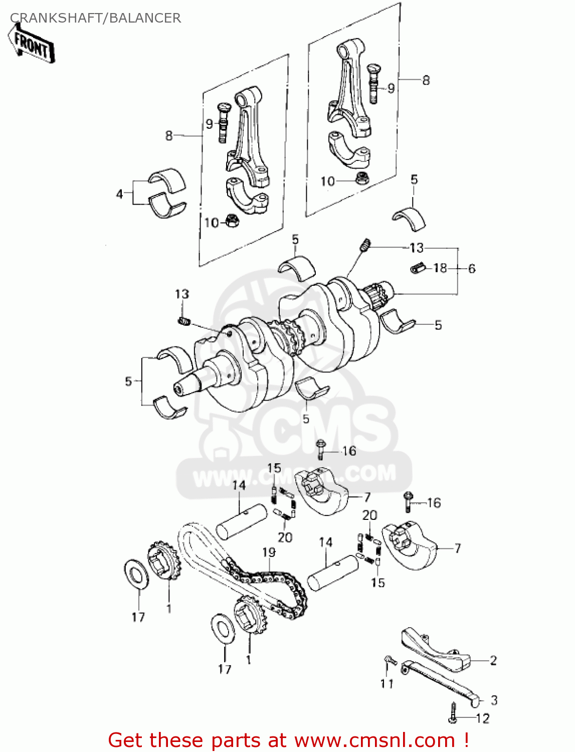
CRANKSHAFT/BALANCER
KZ400H1 1979 USA CANADA / MPH KPH
Crankshaft/balancer diagram KZ400H1 1979 USA CANADA / MPH KPH
CRANKSHAFT/BALANCER KZ400H1 1979 USA CANADA / MPH KPH
×
prices are in EUR
ref
part #
description
quantity
1
120461003
ref: 1
SPROCKET,BALANCER,21T
€ 52.50
2
120531051
ref: 2
GUIDE-CHAIN,BALANCER
€ 28.50
3
120531003
ref: 3
GUIDE-CHAIN,BALANCER
€ 12.50
4
13034050
ref: 4
GREEN OR "A" MARK
METAL,CONNECT ROD,BRG
€ 14.50
4
13034051
ref: 4
BLACK OR "B" MARK
METAL,CONNECTING ROD,
€ 18.00
4
13034052
ref: 4
BROWN OR "C" MARK
METAL,CONNECTING ROD,
€ 14.50
5
920281102
ref: 5
BUSHING,CRANKSHAFT,BR
€ 11.00
6
130371034
ref: 6
CRANK SHAFT ASSY
€ 681.00
7
130411002
ref: 7
BALANCER
€ 60.50
8
132511008JJ
ref: 8
"G" MARK
CONNECTING ROD ASSY,J
€ 121.00
8
132511008JJ
ref: 8
CONNECTING ROD ASSY,J
€ 121.00
8
132511008JJ
ref: 8
"I" MARK
CONNECTING ROD ASSY,J
€ 121.00
9
920011793
ref: 9
BOLT, CONNECTING ROD
€ 5.50
10
92016060
ref: 10
NUT, CONNECTING ROD
€ 3.50
11
220B0608
ref: 11
SCREW-PAN HEAD,6X8
€ 0.50
12
220B0630
ref: 12
SCREW-PAN HEAD,6X30
€ 2.50
13
291H0608
ref: 13
SCREW,SLOTTED,6X8
€ 1.50
14
391151002
ref: 14
SHAFT IDLER,BALANCER
€ 13.50
15
610A0408
ref: 15
ROLLER,4X8
€ 2.50
16
92003229
ref: 16
BOLT, 6X32
€ 6.00
17
920261003
ref: 17
SPACER,20.3X40X1
€ 2.00
18
555A0408
ref: 18
PIN-SPRING,4X8
€ 2.50
19
920571007
ref: 19
CHAIN BALANCER
€ 17.50
20
92081135
ref: 20
SPRING,BALANCER
€ 3.00
up
all assemblies
REAR WHEEL/HUB/BRAKE/CHAIN
FENDERS
FUEL TANK
SIDE COVERS/CHAIN COVER
SEAT
CABLES
METERS
OWNER TOOLS
SPECIAL SERVICE TOOLS "A"
SPECIAL SERVICE TOOLS "B"
AIR CLEANER
MUFFLERS
IGNITION/GENERATOR/REGULATOR
STARTER MOTOR/STARTER CLUTCH
HEADLIGHT
TAILLIGHT
TURN SIGNALS
IGNITION SWITCH
CHASSIS ELECTRICAL EQUIPMENT
CYLINDER HEAD COVER
CYLINDER HEAD
ROCKER ARMS/VALVES
CAMSHAFT/CHAIN/TENSIONER
CYLINDER/PISTONS
CRANKSHAFT/BALANCER
CRANKCASE
GEAR CHANGE MECHANISM
KICKSTARTER MECHANISM
ENGINE COVERS
OIL PUMP/OIL FILTER
CARBURETOR ASSY
CARBURETOR PARTS
CRANKCASE BOLT & STUD PATTERN
CLUTCH
TRANSMISSION
GEAR CHANGE DRUM/FORKS
FRONT FORK
FRONT MASTER CYLINDER
FRONT BRAKE
TIRES
FRONT WHEEL/HUB
FRAME/FRAME FITTINGS
BATTERY CASE
SWING ARM/SHOCK ABSORBERS
FOOTRESTS
STANDS
BRAKE PEDAL/TORQUE LINK
HANDLEBAR
up