×
Genuine ZX Kawasaki Parts delivered quickly!
home
CYLINDER/PISTON
ZX600A2 1986 EUROPE UK FR GR IT NR SD
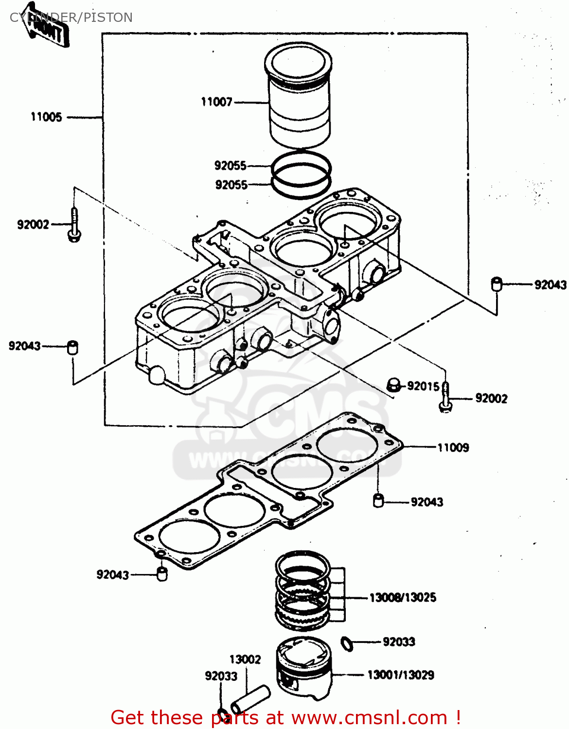
Cylinder/piston diagram ZX600A2 1986 EUROPE UK FR GR IT NR SD
CYLINDER/PISTON ZX600A2 1986 EUROPE UK FR GR IT NR SD
×
prices are in EUR
ref
part #
description
quantity
11005
110051493
ref: 11005
CYLINDER-ENGINE
€ 972.50
11007
110071086
ref: 11007
LINER-CYLINDER
€ 92.50
11009
110091578
ref: 11009
GASKET,CYLINDER BASE (NAS)
€ 22.00
13001
130011233
ref: 13001
PISTON-ENGINE,STD
€ 46.50
13002
130021057
ref: 13002
PIN-PISTON
€ 13.00
13008
130081074
ref: 13008
RING-SET-PISTON,STD
€ 49.00
13025
130251072
ref: 13025
RING-SET-PISTON L,O/S
€ 58.00
13029
130291149
ref: 13029
PISTON-ENGINE L,O/S 0
€ 52.00
92002
920021104
ref: 92002
BOLT,6X28
€ 3.50
92015
920151384
ref: 92015
NUT,CAP,6MM
€ 0.50
92033
920331151
ref: 92033
RING-SNAP,PISTON PIN
€ 2.50
92043
920431264
ref: 92043
PIN,DOWEL,8.2X10X14
€ 0.50
92055
920551287
ref: 92055
RING-O,66.5MM
€ 4.00
up
all assemblies
PUBLICATIONS
MODEL IDENTIFICATION
CAMSHAFT/TANSIONER
CRANKSHAFT
SECONDARY SHAFT
CLUTCH
TRANSMISSION
CYLINDER HEAD (ZX600AE023372~)
CYLINDER HEAD COVER
CYLINDER/PISTON
AIR FILTER
MUFFLER
VALVE
CARBURETOR PARTS
OIL PUMP
GENERATOR
CHANGE DRUM/SHIFT FORK
GEAR CHANGE MECHANISM
CRANKCASE
CRANKCASE BOLT PATTERN
ENGINE COVER
OIL PAN
CARBURETOR
IGNITION COIL
STARTER MOTOR
RADIATOR (ZX600AE000001~029800)
RADIATOR (Z600AE029801~)
OIL COOLER
FENDER
STAND
TIRE
FRONT HUB
REAR HUB
FRAME
FRAME FITTING
BATTERY CASE
SWING ARM
SUSPENSION
STEP
FRONT FORK
FUEL TANK (ZX600-A2)
BRAKE PEDAL
SHOCK ABSORBER
FRONT MASTER CYLINDER
FRONT CALIPER
REAR MASTER CYLINDER
REAR CALIPER
HANDLEBAR
SIDE COVER/CHAIN CASE (ZX600-A2)
HEAD LAMP
SEAT (ZX600-A2)
METER
CABLE
TAIL LAMP
TURN SIGNAL
ELECTRICAL EQUIPMENT
IGNITION SWITCH
TOOL
LABEL
COWLING (ZX600-A2)
up