×
Genuine KX Kawasaki Parts delivered quickly!
home
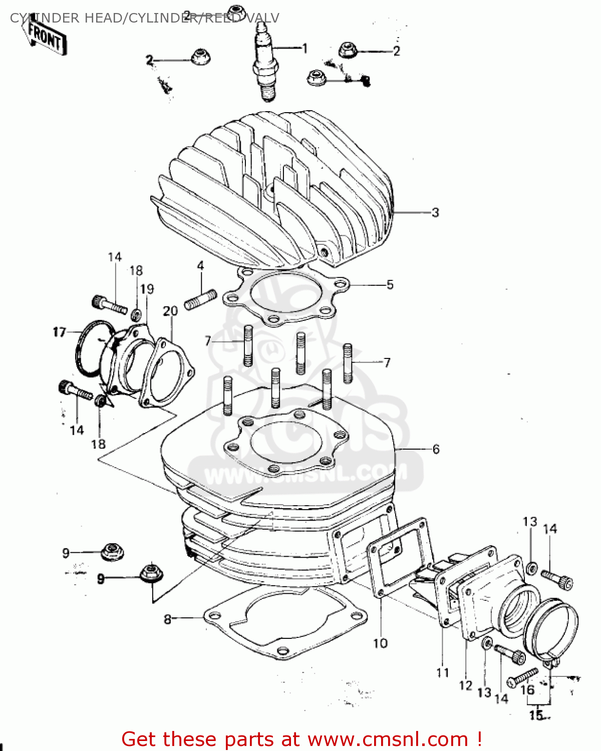
CYLINDER HEAD/CYLINDER/REED VALV
KX250 1974
Cylinder head/cylinder/reed valv diagram KX250 1974
CYLINDER HEAD/CYLINDER/REED VALV KX250 1974
×
prices are in EUR
ref
part #
description
quantity
1
B9EV
ref: 1
SPARK PLUG,B9EV
€ 5.50
1
920703002
ref: 1
BR9EVX (NGK SPARKPLUG
€ 54.00
2
920151014
ref: 2
NUT,8MM
€ 0.50
3
110011031
ref: 3
CYLINDER HEAD,F.BLACK
€ 99.00
4
172G1018
ref: 4
STUD,10X18
€ 1.50
5
110041012
ref: 5
GASKET-HEAD,CYLINDER (NAS)
€ 16.00
6
110051034
ref: 6
KX250-A4
CYLINDER,ELECTRO-FUSE
€ 502.50
6
110051034
ref: 6
KX250-A5+
CYLINDER,ELECTRO-FUSE
€ 502.50
7
172G0840
ref: 7
STUD,8X40
€ 1.50
8
11009038
ref: 8
GASKET,CYLINDER BASE (MCA)
€ 7.50
9
920151021
ref: 9
NUT,10MM
€ 3.00
10
110091018
ref: 10
GASKET,REED VALVE (MCA)
€ 3.50
11
120211001
ref: 11
KX250-A4
VALVE ASSY,REED
€ 101.50
11
120211007
ref: 11
KX250-A5
VALVE-ASSY-REED
€ 101.50
12
160651005
ref: 12
HOLDER-CARBURETOR
€ 70.00
13
410B0600
ref: 13
WASHER-PLAIN-SMALL,6M
€ 0.50
14
120S0625
ref: 14
BOLT-SOCKET,6X25,BLAC
€ 1.00
15
92037116
ref: 15
CLAMP
€ 10.50
16
220B0535
ref: 16
SCREW-PAN-CROS
€ 2.00
17
?
ref: 17
USE 56019-102
?
17
110091123
ref: 17
KX250-A5+
GASKET,EXHAUST HOLDER (NAS)
€ 10.50
18
461F0600
ref: 18
WASHER-SPRING,6MM
€ 0.50
19
180691001
ref: 19
HOLDER,EXHAUST PIPE
€ 71.50
20
110091017
ref: 20
GASKET,EXHAUST PIPE (NAS)
€ 7.00
up
all assemblies
FRONT FORK (KX250-A/A3)
WHEELS/TIRES (74-76)
FUEL TANK/SEAT (74-76)
CABLES (74-76)
OWNER TOOLS/SPECIAL SERVICE TOOL
CYLINDER HEAD/CYLINDER/REED VALV
CRANKSHAFT/PISTON (78-79)
CRANKCASE (78-79)
CLUTCH (78-79)
TRANSMISSION (78-79)
GEAR CHANGE MECHANISM (78-79)
ENGINE COVERS (74-76)
CARBURETOR (74-76)
AIR CLEANER/MUFFLER (74-76)
IGNITION (74-76)
MUFFLER (78-79)
IGNITION (78-79)
KICKSTARTER MECHANISM (78-79)
ENGINE COVERS (78-79)
CARBURETOR (78-79)
AIR CLEANER (78-79)
FRONT FORK (KX250-A5) (78-79)
WHEELS/TIRES (78-79)
FRONT HUB/BRAKE (78-79)
REAR HUB/BRAKE/CHAIN (78-79)
FRAME/FRAME FITTINGS (78-79)
SWING ARM/SHOCK ABSORBERS (78-79
HANDLEBAR (78-79)
FRONT FORK (KX250-A4) (78-79)
FENDERS/NUMBER PLATE (78-79)
FUEL TANK (KX250-A4)
FUEL TANK (KX250-A5)
SEAT/SIDE COVERS (78-79)
CABLES (78-79)
OWNER TOOLS/SPECIAL SERVICE TOOL
CYLINDER HEAD/CYLINDER (74-76)
CRANKSHAFT/PISTON (74-76)
CRANKCASE (74-76)
CLUTCH (74-76)
TRANSMISSION/CHANGE DRUM (74-76)
GEAR CHANGE MECHANISM (74-76)
KICKSTARTER MECHANISM (74-76)
FRONT HUB/BRAKE (KX250)
FRONT HUB/BRAKE (KX250-A/A3)
REAR HUB/BRAKE/CHAIN (KX250)
REAR HUB/BRAKE/CHAIN (KX250-A/A3
FENDERS/NUMBER PLATES (74-76)
FRAME/FRAME FITTINGS (74-76)
SWING ARM/SHOCK ABSORBERS (KX250
SWING ARM/SHOCK ABSORBERS (KX250
HANDLEBAR (74-76)
FRONT FORK (KX250)
up