Genuine KMX Kawasaki Parts delivered quickly!

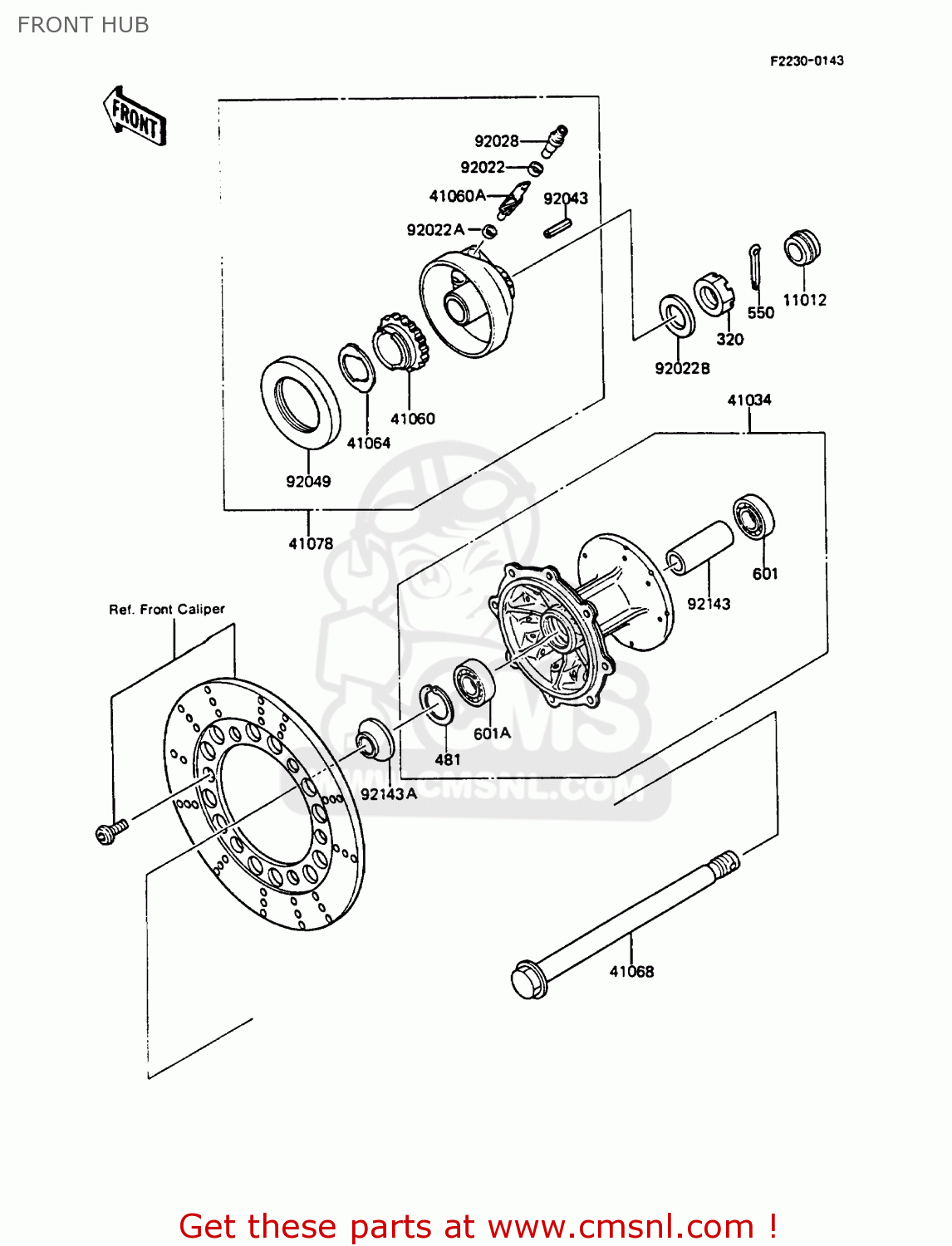
FRONT HUB

KMX125-A2 1987 EUROPE UK FG GR IT NR ST SD

Front hub diagram KMX125-A2 1987 EUROPE UK FG GR IT NR ST SD

FRONT HUB KMX125-A2 1987 EUROPE UK FG GR IT NR ST SD
FRONT HUB KMX125-A2 1987 EUROPE UK FG GR IT NR ST SD
FRONT HUB KMX125-A2 1987 EUROPE UK FG GR IT NR ST SD
prices are in EUR
ref
part #
description
quantity
320
320G1200
ref: 320
NUT-CASTLE
320G1200
€ 2.50

481
481J3500
ref: 481
CIRCLIP-TYPE-C,35MM
481J3500
€ 1.00

550
550D3025
ref: 550
PIN-COTTER,3.0X25
550D3025
€ 0.50

601
601B6201U
ref: 601
BEARING-BALL,#6201LUC
601B6201U
€ 18.50

601A
601B6202U
ref: 601A
BEARING-BALL,#6202UC3
601B6202U
€ 19.50

11012
110121595
ref: 11012

FG
CAP,AXLE NUT
110121595
€ 3.00

41034
410341147
ref: 41034
DRUM-ASSY,FRONT BRAKE
€ 387.50

41060
410601101
ref: 41060
GEAR-METER SCREW,24T
410601101
€ 27.00

41060A
410601102
ref: 41060A
GEAR-METER SCREW,8T
410601102
€ 19.00

41064
410641051
ref: 41064
RECEIVER-SPEEDOMETER
410641051
€ 8.00

41068
410681227
ref: 41068
AXLE,FR
410681227
€ 37.00

41078
410781063
ref: 41078
CASE-ASSY-METER GEAR
410781063
€ 108.00

92022
41063001
ref: 92022
WASHER-THRST SPD PINI
41063001
€ 3.00

92022A
920221062
ref: 92022A
WASHER,PLAIN
€ 3.00

92022B
920221065
ref: 92022B
WASHER,12.3X22X1.6
920221065
€ 2.50

92028
920281066
ref: 92028
BUSHING,SPEEDOMET CAB
920281066
€ 7.50

92043
41082001
ref: 92043
PIN-SPRING
41082001
€ 2.50

92049
920491263
ref: 92049
SEAL-OIL,PJN40556
920491263
€ 12.50

92143
921431012
ref: 92143
COLLAR,12.2X19X70
921431012
€ 11.50

92143A
921431013
ref: 92143A
COLLAR,L=25
921431013
€ 18.50