×
Genuine KL Kawasaki Parts delivered quickly!
home
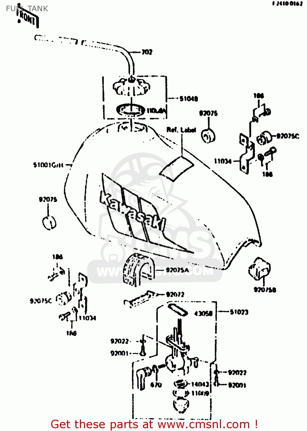
FUEL TANK
KL250C2 1984 USA
Fuel tank diagram KL250C2 1984 USA
FUEL TANK KL250C2 1984 USA
×
prices are in EUR
ref
part #
description
quantity
11009
110091013
ref: 11009
GASKET,FUEL TAP CUP (NAS)
€ 3.50
11009A
51059006
ref: 11009A
GASKET,FUEL TANK CAP (NAS)
€ 6.00
11034
110341713
ref: 11034
BRACKET
€ 3.00
14043
140431002
ref: 14043
FILTER,FUEL TAP
€ 3.00
43058
51039003
ref: 43058
'O' RING
€ 4.00
51001G
5100152077F
ref: 51001G
TANK-COMP-FUEL,L.GREE
€ 347.50
51001H
510015208H1
ref: 51001H
TANK-COMP-FUEL,S.RED
€ 358.00
51023
510231001
ref: 51023
TAP-ASSY,FUEL
€ 43.50
51048
510481004
ref: 51048
CAP-ASSY-TANK,FUEL
€ 24.00
92001
920011091
ref: 92001
BOLT,6X20,FUEL TAP
€ 2.50
92022
92022183
ref: 92022
WASHER,6.2X11X1.5
€ 2.50
92072
920721013
ref: 92072
BAND,FUEL TANK
€ 2.50
92075
92075101
ref: 92075
DAMPER RUBBER-FL TANK
€ 4.00
92075A
920751151
ref: 92075A
DAMPER,FUEL TANK
€ 13.00
92075B
920751152
ref: 92075B
DAMPER,FUEL
€ 6.00
92075C
92075167
ref: 92075C
DAMPER
€ 3.50
186
186B0612
ref: 186
BOLT-UPSET-WP
€ 0.50
670
670B2010
ref: 670
O RING,10MM
€ 1.00
702
702A05400
ref: 702
TUBE,RUBBER,5X400
€ 7.50
up
all assemblies
HANDLEBAR
FRONT FORK
FUEL TANK
SEAT
SIDE COVER/CHAIN CASE
TIRE
FRONT HUB
REAR HUB
FENDER
METER
HEAD LAMP
TAIL LAMP
TURN SIGNAL
ELECTRICAL EQUIPMENT
IGNITION SWITCH/LOCK
BRAKE PEDAL/TORQUE ROD
CABLE
TOOL
LABEL
CYLINDER HEAD
CAMSHAFT/TENSIONER
VALVE
CYLINDER/PISTON
CRANKSHAFT
CRANKCASE
OIL PUMP
ENGINE COVER
AIR FILTER
CARBURETOR
GENERATOR
IGNITION COIL
CLUTCH
TRANSMISSION
CHANGE DRUM/SHIFT FORK
GEAR CHANGE MECHANISM
KICKSTARTER MECHANISM
MUFFLER
FRAME
FRAME FITTING
BATTERY CASE
SWING ARM/SHOCK ABSORBER
STEP
STAND
PUBLICATIONS
MODEL IDENTIFICATION
up