×
Genuine BJ Kawasaki Parts delivered quickly!
home
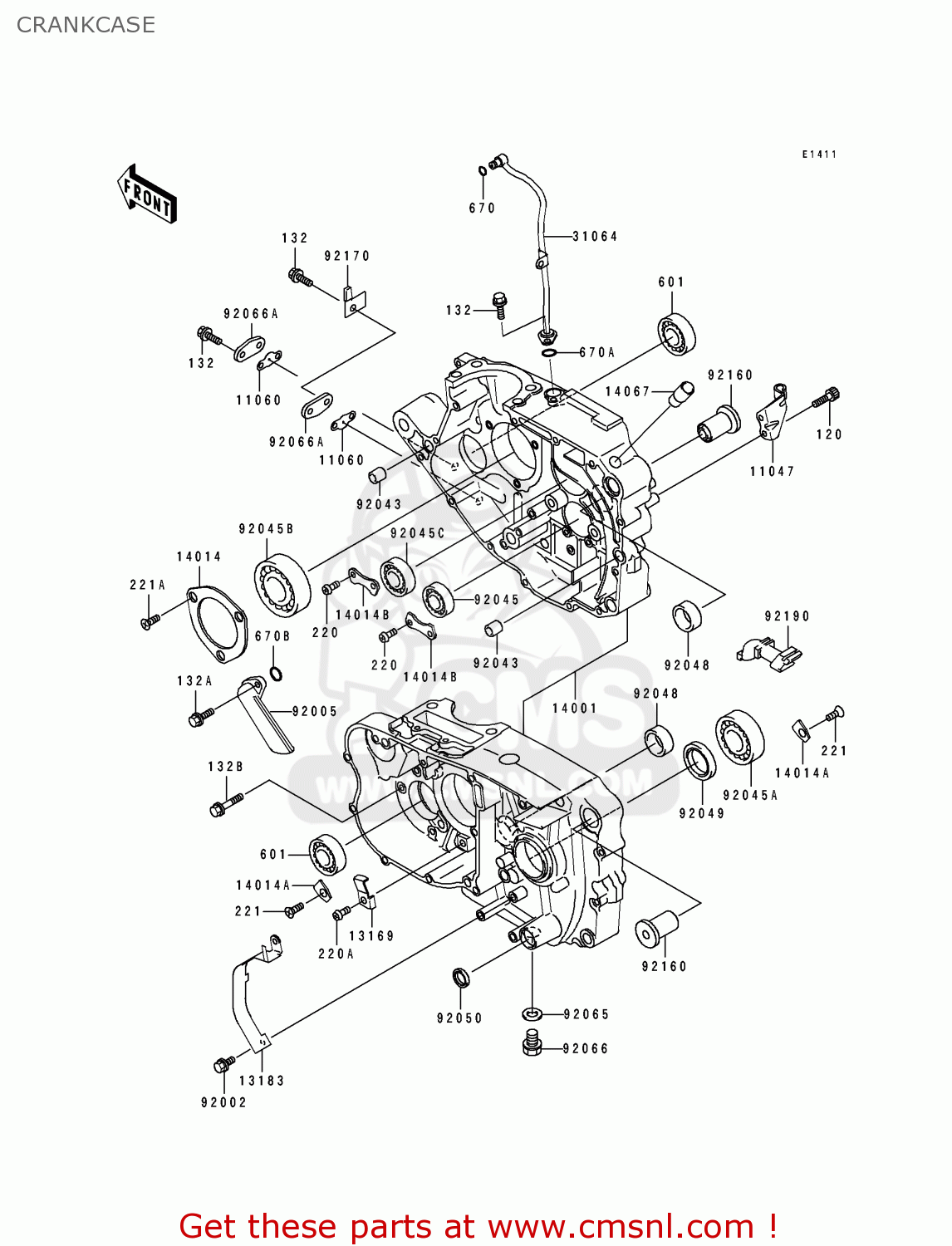
CRANKCASE
BJ250A2 ESTRELLA 1994 FG
Crankcase diagram BJ250A2 ESTRELLA 1994 FG
CRANKCASE BJ250A2 ESTRELLA 1994 FG
×
prices are in EUR
ref
part #
description
quantity
120
120Z0616
ref: 120
BOLT-SOCKET,6X16
€ 2.50
132
132E0616
ref: 132
BOLT-FLANGED-SMALL
€ 2.50
132A
132G0620
ref: 132A
BOLT-FLANGED-SMALL
€ 1.50
132B
132G0645
ref: 132B
BOLT-FLANGED-SMALL
€ 2.50
220
220B0612
ref: 220
SCREW-PAN HEAD,6X12
€ 1.00
220A
220B0614
ref: 220A
SCREW-PAN HEAD,6X14
€ 2.00
221
221B0612
ref: 221
SCREW-CNTSNK HD,6X12
€ 1.50
221A
221B0616
ref: 221A
SCREW-CNTSNK HD,6X16
€ 0.50
601
601B6204
ref: 601
BEARING-BALL,#6204C3
€ 8.00
670
670B1505
ref: 670
O RING,5MM
€ 1.00
670A
670B2010
ref: 670A
O RING,10MM
€ 1.00
670B
670D2018
ref: 670B
O RING,18MM
€ 1.50
11047
110471648
ref: 11047
BRACKET
€ 12.00
11060
110601336
ref: 11060
GASKET (NAS)
€ 4.50
13169
131691691
ref: 13169
PLATE
€ 3.00
13183
131831837
ref: 13183
PLATE
€ 15.00
14001
140015310
ref: 14001
SET-CRANKCASE
€ 1,036.00
14014
140141004
ref: 14014
PLATE,POSITIONING
€ 8.00
14014A
140141057
ref: 14014A
PLATE-POSITION
€ 2.50
14014B
140141087
ref: 14014B
PLATE-POSITION
€ 3.50
14067
14067006
ref: 14067
BREATHER JOINT
€ 14.00
31064
310641137
ref: 31064
PIPE-COMP,OIL
€ 91.50
92002
920021944
ref: 92002
BOLT,6X8
€ 3.00
92005
920051152
ref: 92005
FITTING
€ 22.00
92043
920434009
ref: 92043
PIN,10.1X12X14
€ 4.00
92045
92045036
ref: 92045
BEARING-BALL,#6905
€ 29.00
92045A
920451127
ref: 92045A
BEARING-BALL,TM-SX059
€ 47.00
92045B
920451172
ref: 92045B
BEARING-BALL
€ 53.50
92045C
920451200
ref: 92045C
BEARING-BALL,6205CM
€ 22.50
92048
920481057
ref: 92048
RACE,26X33X13
€ 29.50
92049
920491159
ref: 92049
SEAL-OIL,TC32457
€ 8.00
92050
92050082
ref: 92050
OIL SEAL,CHANGE SHAFT
€ 5.50
92065
92065097
ref: 92065
GASKET,DRAIN PLUG BOL (NAS)
€ 1.00
92066
920661174
ref: 92066
PLUG,OIL DRAIN,12X15
€ 4.00
92066A
920661378
ref: 92066A
PLUG,OIL LINE
€ 10.00
92160
921601423
ref: 92160
DAMPER,FR
€ 16.00
92170
921701356
ref: 92170
CLAMP
€ 5.50
92190
921901320
ref: 92190
TUBE
€ 18.00
up
all assemblies
CYLINDER HEAD
CYLINDER/PISTON(S)
AIR CLEANER
MUFFLER(S)
VALVE(S)
CAMSHAFT(S)/TENSIONER
CRANKSHAFT
BALANCER
CLUTCH
TRANSMISSION
GEAR CHANGE DRUM/SHIFT FORK(S)
GEAR CHANGE MECHANISM
CRANKCASE
ENGINE COVER(S)
CARBURETOR
OIL PUMP
GENERATOR
IGNITION SYSTEM
STARTER MOTOR
FRAME
FRAME FITTINGS
BATTERY CASE
SWINGARM
FOOTRESTS
FENDERS
STAND(S)
TIRES
FRONT HUB
REAR HUB
BRAKE PEDAL
SHOCK ABSORBER(S)
FRONT MASTER CYLINDER
FRONT BRAKE
REAR MASTER CYLINDER
REAR BRAKE
HANDLEBAR
FRONT FORK
FUEL TANK
SEAT
METER(S)
CABLES
SIDE COVERS/CHAIN COVER
HEADLIGHT(S)
TAILLIGHT(S)
TURN SIGNALS
CHASSIS ELECTRICAL EQUIPMENT
IGNITION SWITCH
OWNER'S TOOLS
LABELS
DECALS
Publications
Model Identification
up