×
Genuine ZX Kawasaki Parts delivered quickly!
home
ZX600D2 NINJA ZX6 1991 USA CALIFORNIA CANADA
CYLINDER HEAD
37 products
CYLINDER HEAD COVER
9 products
CYLINDER/PISTON
11 products
AIR FILTER
35 products
MUFFLER
17 products
VALVE
36 products
CAMSHAFT/TENSIONER
14 products
CRANKSHAFT
16 products
CLUTCH
15 products
TRANSMISSION
31 products
CHANGE DRUM/SHIFT FORK
16 products
GEAR CHANGE MECHANISM
17 products
CRANKCASE
32 products
CRANKCASE BOLT PATTERN
10 products
ENGINE COVER
21 products
OIL PAN
8 products
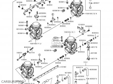
CARBURETOR
51 products
CARBURETOR PARTS
38 products
CANISTER
17 products
OIL PUMP
15 products
GENERATOR
8 products
IGNITION COIL
18 products
STARTER MOTOR
28 products
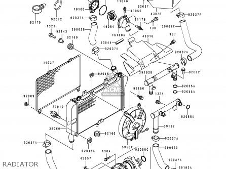
RADIATOR
54 products
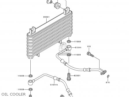
OIL COOLER
11 products
FRAME
17 products
FRAME FITTING
13 products
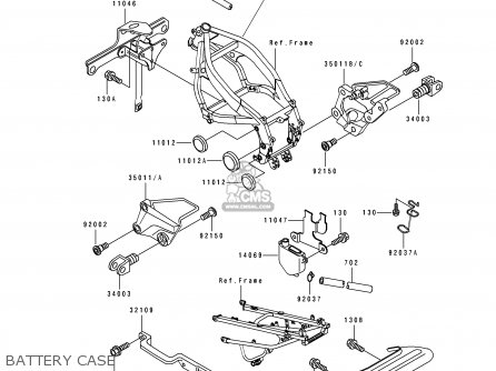
BATTERY CASE
24 products
SWING ARM
23 products
SUSPENSION
17 products
STEP
16 products
FENDER
11 products
STAND
12 products
TIRE
6 products
FRONT HUB
17 products
REAR HUB
21 products
BRAKE PEDAL
12 products
SHOCK ABSORBER
2 products
FRONT MASTER CYLINDER
25 products
FRONT CALIPER
20 products
REAR MASTER CYLINDER
24 products
REAR CALIPER
20 products
HANDLEBAR
30 products
FRONT FORK
28 products
FUEL TANK(ZX600-D2/D3)
42 products
SEAT
14 products
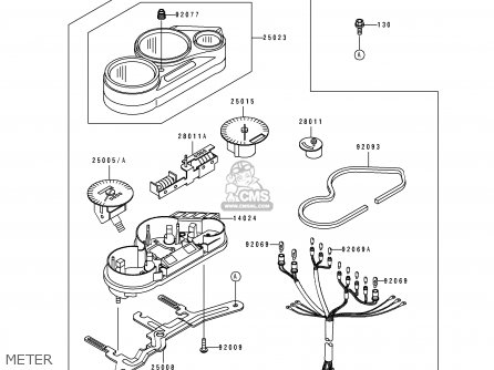
METER
21 products
CABLE
12 products
SIDE COVER/CHAIN CASE(ZX600-D2/D3)
22 products
HEAD LAMP
6 products
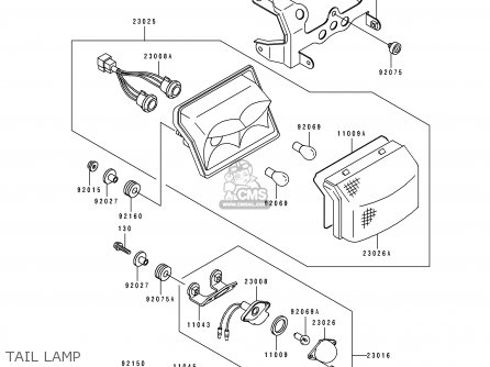
TAIL LAMP
20 products
TURN SIGNAL
19 products
ELECTRICAL EQUIPMENT
24 products
IGNITION SWITCH
25 products
TOOL
18 products
LABEL
15 products
DECAL(RESD/ROSE)(ZX600-D2)
11 products
DECAL(EBONY/GRAY)(ZX600-D2)
11 products
COWLING(ZX600-D2/D3)
45 products
Publications
0 products
Model Identification
0 products
1991 ZX600-D2 HF CANDY CARDINAL RED / LUMINOUS ROSE OPER
0 products
1991 ZX600-D2 HP KMM.CANDY CARDINAL RED / LUMINOUS ROSE
0 products
1991 ZX600-D2 JP KMM.EBONY / PEARL COSMIC GRAY
0 products
1991 ZX600-D2 T4 EBONY / PEARL COSMIC GRAY
0 products
1992 ZX600-D3 JP KMM.EBONY / PEARL COSMIC GRAY
0 products
1992 ZX600-D3 T4 EBONY / PEARL COSMIC GRAY
0 products
1992 ZX600-D3 TF KMM.CANDY WINE RED
0 products
1993 ZX600-D4 TG KMM.METALLIC NOCTURNE BLUE / LUMINOUS R
0 products
up
popular products
92126001
TOOL-WRENCH,OPEN END,
Kawasaki
430491057
PACKING,PISTON (NAS)
Kawasaki
430491055
PACKING,PISTON (NAS)
Kawasaki
920261393
SPACER,10.5X15.1X10
Kawasaki