×
Genuine Z Kawasaki Parts delivered quickly!
home
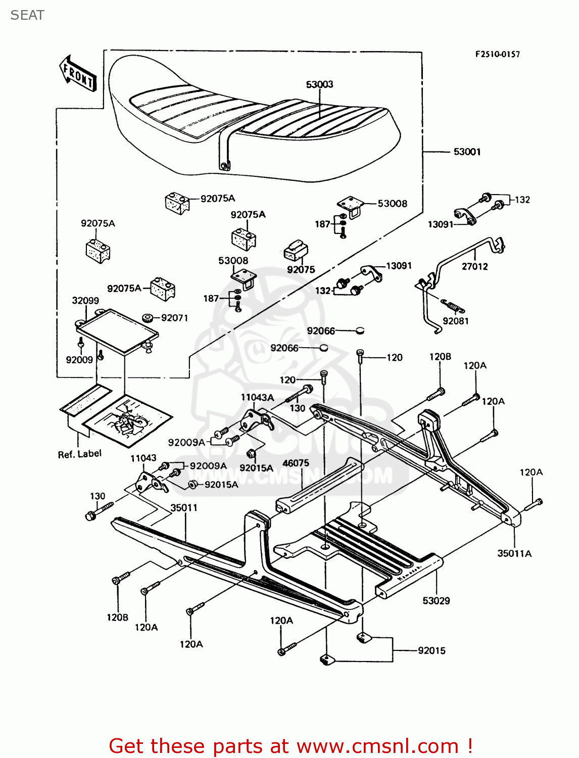
SEAT
Z750P9 GT750 1994 UNITED KINGDOM
Seat diagram Z750P9 GT750 1994 UNITED KINGDOM
SEAT Z750P9 GT750 1994 UNITED KINGDOM
×
prices are in EUR
ref
part #
description
quantity
120
120S0625
ref: 120
BOLT-SOCKET,6X25,BLAC
€ 1.00
120A
120S0630
ref: 120A
BOLT-SOCKET,6X30,BLAC
€ 1.00
120B
120S0830
ref: 120B
BOLT-SOCKET,8X30,BLAC
€ 3.00
130
130C0845
ref: 130
BOLT-FLANGED,8X45,BLA
€ 2.00
132
132G0612
ref: 132
BOLT-FLANGED-SMALL
€ 1.50
187
187B0614
ref: 187
BOLT-UPSET-WSP
€ 0.50
11043
110431629
ref: 11043
BRACKET,STAY,LH
€ 9.50
11043A
110431654
ref: 11043A
BRACKET,STAY,RH
€ 7.50
13091
130911297
ref: 13091
HOLDER,SEAT HOOK
€ 7.50
27012
270121313
ref: 27012
HOOK,SEAT LOCK
€ 12.50
32099
32099011
ref: 32099
CASE,MANUAL
€ 11.50
35011
35011122421
ref: 35011
STAY,CARRIER,LH,F.BLA
€ 191.50
35011A
35011122521
ref: 35011A
STAY,CARRIER,RH,F.BLA
€ 182.00
46075
46075102721
ref: 46075
GRIP,CARRIER,F.BLACK
€ 55.50
53001
530011266
ref: 53001
SEAT-ASSY,DUAL,W/BAND
€ 453.00
53003
530031030
ref: 53003
LEATHER,SEAT
€ 137.50
53008
53008021
ref: 53008
HOOK,SEAT
€ 7.50
53029
53029102521
ref: 53029
CARRIER,F.BLACK
€ 118.00
92009
920091043
ref: 92009
SCREW,TAPPING,5X8
€ 3.00
92009A
920091556
ref: 92009A
SCREW,8X16
€ 2.50
92015
920151217
ref: 92015
NUT,6MM,BLACK
€ 4.00
92015A
920151409
ref: 92015A
NUT,FLANGED,8MM
€ 1.50
92066
920661115
ref: 92066
PLUG
€ 3.50
92071
92071056
ref: 92071
GROMMET
€ 2.50
92075
92075099
ref: 92075
DAMPER RUBBER
€ 3.50
92075A
92075139
ref: 92075A
DAMPER,SEAT
€ 7.00
92081
920811023
ref: 92081
SPRING,SPRKT LEV,GER
€ 4.00
up
all assemblies
CYLINDER HEAD
CYLINDER HEAD COVER
CYLINDER/PISTON(S)
AIR CLEANER
MUFFLER(S)
VALVE(S)
CAMSHAFT(S)/TENSIONER
CRANKSHAFT
SECONDARY SHAFT
CLUTCH
TRANSMISSION
GEAR CHANGE DRUM/SHIFT FORK(S)
GEAR CHANGE MECHANISM
CRANKCASE
CRANKCASE BOLT PATTERN
ENGINE COVER(S)
BREATHER COVER/OIL PAN
CARBURETOR
CARBURETOR PARTS
OIL PUMP
GENERATOR
IGNITION SYSTEM
STARTER MOTOR
OIL COOLER
FRONT BEVEL GEAR
DRIVE SHAFT/FINAL GEAR
FRAME
FRAME FITTINGS
BATTERY CASE
SWINGARM
SUSPENSION/SHOCK ABSORBER
FOOTRESTS
FENDERS
STAND(S)
TIRES
FRONT HUB
REAR HUB
BRAKE PEDAL
FRONT MASTER CYLINDER
FRONT BRAKE
REAR MASTER CYLINDER
REAR BRAKE
HANDLEBAR
FRONT FORK
FUEL TANK
SEAT
METER(S)
CABLES
SIDE COVERS
HEADLIGHT(S)
TAILLIGHT(S)
TURN SIGNALS
CHASSIS ELECTRICAL EQUIPMENT
IGNITION SWITCH
OWNER'S TOOLS
LABELS
DECALS
PUBLICATIONS
MODEL IDENTIFCATION
up