×
Genuine KZ Kawasaki Parts delivered quickly!
home
CARBURETOR PARTS
KZ650D2 SR 1979 USA CANADA
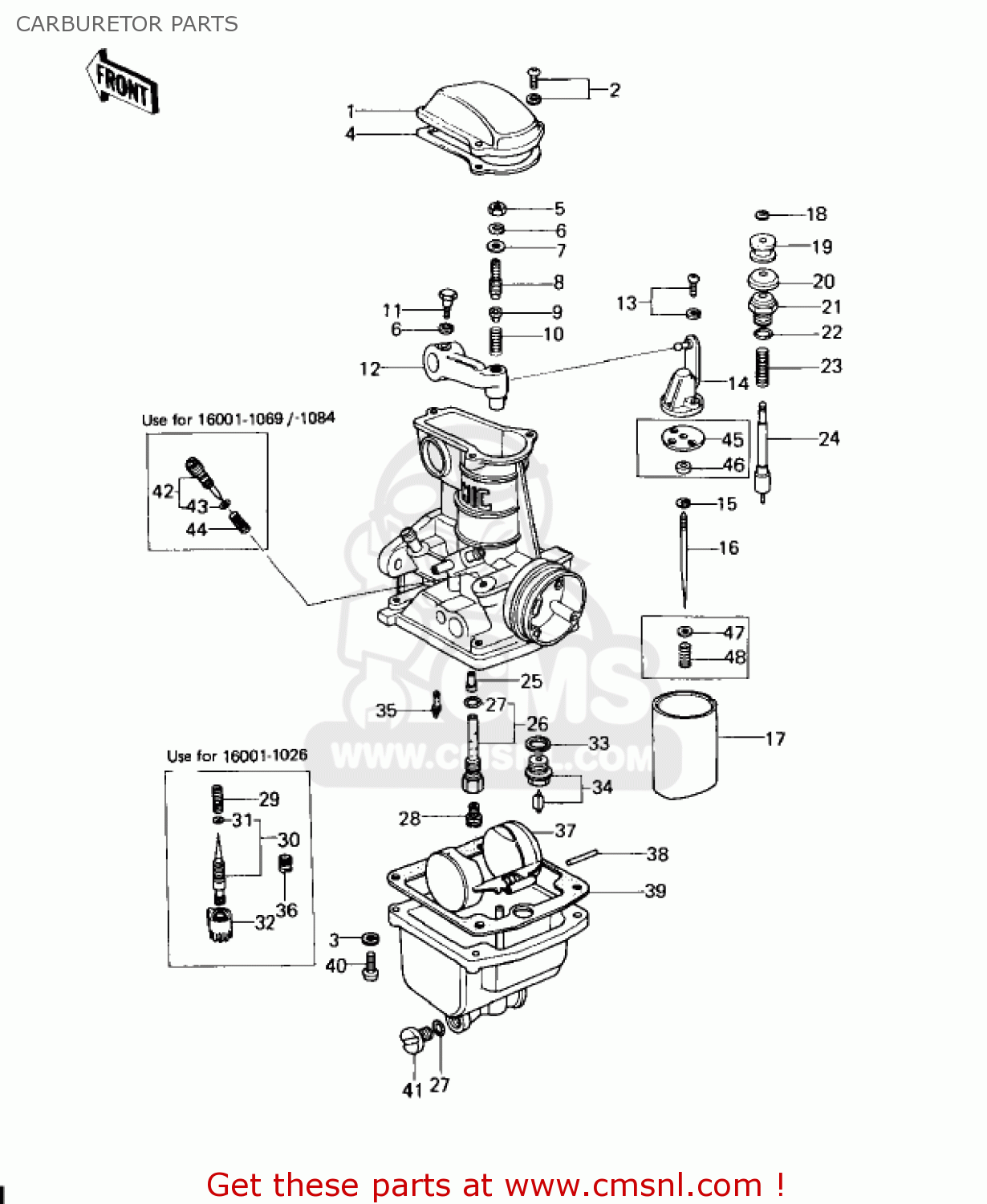
Carburetor parts diagram KZ650D2 SR 1979 USA CANADA
CARBURETOR PARTS KZ650D2 SR 1979 USA CANADA
×
prices are in EUR
ref
part #
description
quantity
1
16005027
ref: 1
TOP,MIXING CHAMBER
€ 15.50
2
223B0414
ref: 2
SCREW PAN-WS-CROS
€ 2.50
3
461F0400
ref: 3
WASHER-SPRING,4MM
€ 0.50
4
16019031
ref: 4
GASKET,CHAMBER,TOP (NAS)
€ 24.50
5
16003013
ref: 5
NUT,5M/M
€ 6.00
6
461F0500
ref: 6
WASHER-SPRING,5MM
€ 0.50
7
16039016
ref: 7
WASHER,PLAIN
€ 3.50
8
16046012
ref: 8
SCREW, SLOTTED
€ 13.50
9
16057002
ref: 9
SEAT-SPRING
€ 6.00
10
16040026
ref: 10
SPRING
€ 3.50
11
16067006
ref: 11
BOLT-HEX HEAD,5X14
€ 10.50
12
390751001
ref: 12
LEVER,THROTTLE
€ 25.00
13
16033031
ref: 13
SCREW, PAN HEAD, 3X14
€ 3.50
14
16007028
ref: 14
BRACKET,THROTTLE VALV
€ 41.00
14
391841001
ref: 14
THROTTLE VALVE BRACKET
€ 29.00
15
16008010
ref: 15
CLAMP,E-TYPE
€ 5.00
16
160091013
ref: 16
NEEDLE-JET,5CN15
€ 28.00
16
160091015
ref: 16
JET,NEEDLE,5CL10
€ 9.00
16
160091029
ref: 16
JET,NEEDLE,5CL16
€ 25.00
16
160251006
ref: 16
VALVE, THROTTLE
€ 50.50
16
160251016
ref: 16
THROTTLE VALVE,CA2.0
€ 83.00
16
160251025
ref: 16
THROTTLE VALVE,CA1.75
€ 57.50
18
16076003
ref: 18
CLAMP
€ 4.50
19
16073014
ref: 19
COLLAR,STARTER PLUNGE
€ 5.50
20
16039015
ref: 20
CAP,STARTER PLUNGER
€ 4.50
21
16012015
ref: 21
CAP-STARTER PLUNGER
€ 8.50
22
67081509
ref: 22
UNAVAILABLE IN PRICE BOOK
€ 0.00
23
16013008
ref: 23
SPRING-STARTER PLUNG
€ 4.50
24
16016021
ref: 24
PLUNGER,STARTER
€ 26.00
25
160171021
ref: 25
NEEDLE JET,O-4
€ 24.50
25
160171018
ref: 25
JET,NEEDLE,#AO-7
€ 18.00
25
160171034
ref: 25
JET-NEEDLE,AO-5
€ 38.00
26
16047005
ref: 26
BLEED PIPE
€ 16.00
26
491221006
ref: 26
BLEED PIPE
€ 17.00
27
16038016
ref: 27
GASKET,O-RING
€ 2.50
28
920631028
ref: 28
JET-MAIN,#A102.5R
€ 10.00
28
920631029
ref: 28
JET-MAIN,#A90R
€ 10.50
28
920631035
ref: 28
MAIN JET,#97.5R
€ 10.00
28
920631033
ref: 28
RACING USE ONLY
JET-MAIN,#A100R
€ 17.00
28
920631042
ref: 28
RACING USE ONLY
JET-MAIN,#A105R
€ 10.50
28
92063073
ref: 28
RACING USE ONLY
JET-MAIN,#107.5R
€ 9.50
28
92063068
ref: 28
RACING USE ONLY
MAIN JET,#92.5R
€ 15.50
28
920631031
ref: 28
RACING USE ONLY
MAIN JET,#95R
€ 10.00
29
16022016
ref: 29
SPRING, PILOT SCREW
€ 6.00
30
16014018
ref: 30
SCREW-PILOT AIR
€ 19.00
31
16038024
ref: 31
O RING
€ 1.00
32
110121041
ref: 32
LIMITER CAP
€ 3.00
33
16029004
ref: 33
WASHER-FLOAT VLV SEAT
€ 2.50
34
160301001
ref: 34
VALVE-FLOAT,2.0
€ 40.50
35
920641018
ref: 35
JET-PILOT,#A15
€ 13.00
36
920641019
ref: 36
JET,PILOT,#A50
€ 10.00
37
16031031
ref: 37
FLOAT
€ 114.50
38
16032003
ref: 38
FLOAT PIN
€ 4.00
39
110091563
ref: 39
GASKET,FLOAT CHAMBER (NAS)
€ 14.00
40
220B0416
ref: 40
SCREW-PAN-CROS
€ 2.00
41
16049007
ref: 41
SCREW, GUIDE
€ 9.50
42
160141004
ref: 42
SCREW-PILOT AIR
€ 22.00
42
160141006
ref: 42
SCREW-PILOT AIR
€ 18.00
43
16038022
ref: 43
GASKET,O-RING
€ 4.50
44
16022007
ref: 44
SPRING-THR STOP SCREW
€ 5.50
45
131691107
ref: 45
NEEDLE JET PLATE
€ 5.50
46
920271103
ref: 46
RING,JET NEEDLE
€ 4.50
47
920221024
ref: 47
WASHER,THROTTLE VALVE
€ 4.50
48
920811072
ref: 48
NEEDLE JET SPRING
€ 2.50
up
all assemblies
CYLINDER HEAD COVER
CYLINDER HEAD
CAMSHAFTS/VALVES
CAM CHAIN/TENSIONER
CYLINDER/PISTONS/CRANKSHAFT
SECONDARY SHAFT/STARTER CLUTCH
CRANKCASE/BREATHER COVER
TAILLIGHT
TURN SIGNALS
CHASSIS ELECTRICAL EQUIPMENT
OWNER TOOLS
SPECIAL SERVICE TOOLS "A"
KICKSTARTER MECHANISM
ENGINE COVERS
OIL PUMP/OIL FILTER/OIL PAN
CARBURETOR ASSY
CARBURETOR PARTS
FRAME/FRAME FITTINGS
BATTERY CASE/TOOL CASE
SWING ARM/SHOCK ABSORBERS
FOOTRESTS/STANDS
HANDLEBAR
FRONT FORK
FRONT MASTER CYLINDER
FENDERS
FUEL TANK
SIDE COVERS/CHAIN COVER
SEAT
CABLES
METERS/IGNITION SWITCH
HEADLIGHT
CRANKCASE BOLT & STUD PATTERN
CLUTCH
TRANSMISSION
GEAR CHANGE MECHANISM
FRONT BRAKE
REAR MASTER CYLINDER/BRAKE PEDAL
REAR BRAKE
FRONT WHEEL/TIRE/HUB
REAR WHEEL/TIRE/HUB/CHAIN
SPECIAL SERVICE TOOLS "B"
CARBURETORS/ACCELERATOR PUMP (US
AIR CLEANER
MUFFLERS
IGNITION/REGULATOR
GENERATOR/STARTER MOTOR
up