Genuine KX Kawasaki Parts delivered quickly!

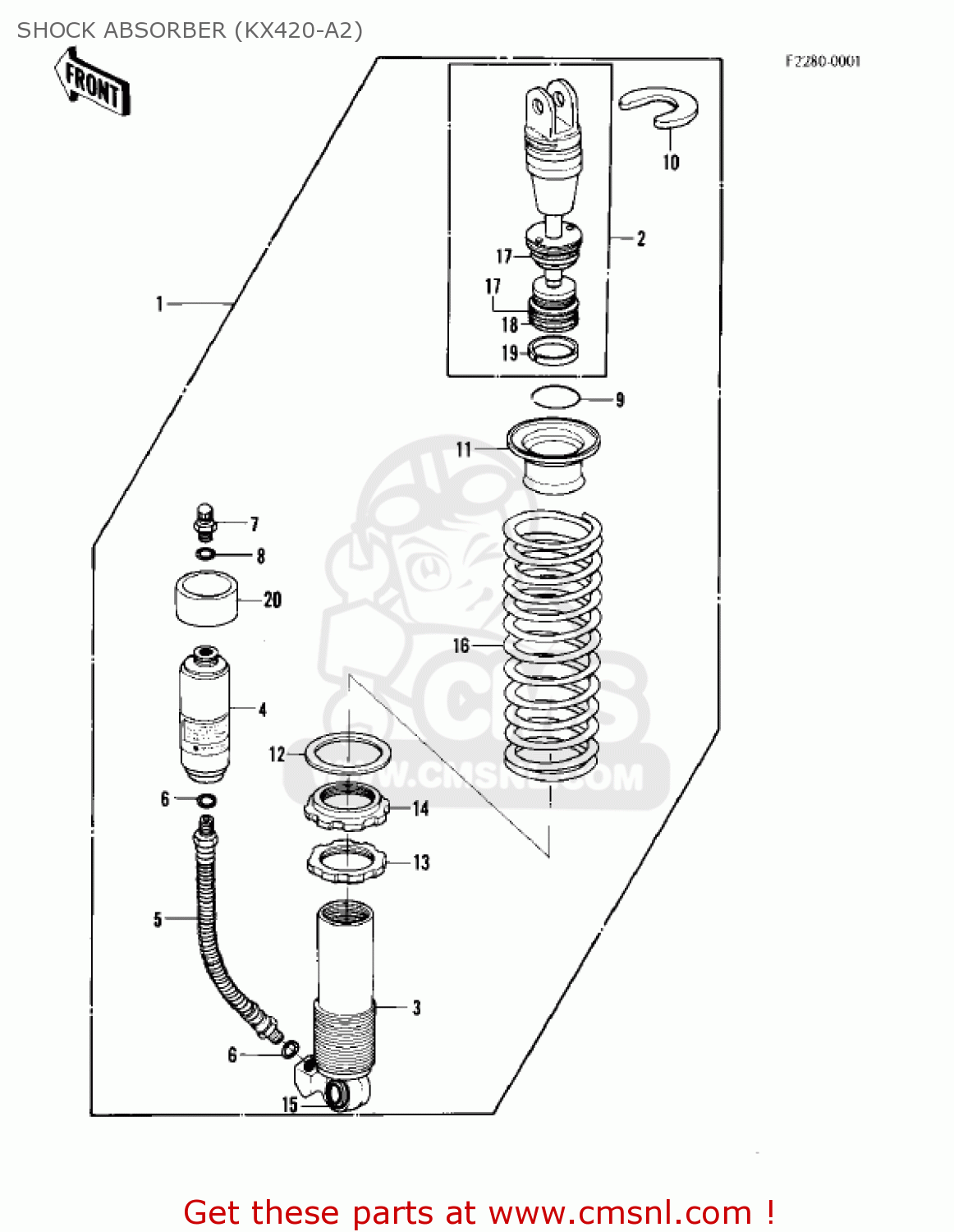
SHOCK ABSORBER (KX420-A2)

KX420-A2 KX420 1981 UNITED KINGDOM USA CANADA EXPORT

Shock absorber (kx420-a2) diagram KX420-A2 KX420 1981 UNITED KINGDOM USA CANADA EXPORT

SHOCK ABSORBER (KX420-A2) KX420-A2 KX420 1981 UNITED KINGDOM USA CANADA EXPORT
SHOCK ABSORBER (KX420-A2) KX420-A2 KX420 1981 UNITED KINGDOM USA CANADA EXPORT
SHOCK ABSORBER (KX420-A2) KX420-A2 KX420 1981 UNITED KINGDOM USA CANADA EXPORT
prices are in EUR
ref
part #
description
quantity
1
450141116
ref: 1
SHOCK ABSORBER
€ 573.00

2
461021028
ref: 2

OD=20 MM
ROD,SHOCKABSORBER
€ 390.50

3
430891022
ref: 3
CYLINDER-SHOCKABSORBE
€ 174.50

4
520011012
ref: 4
TANK-OIL,SHOCKABSORBR
€ 97.00

5
390931053
ref: 5
PIPE-COMP-SUSP
390931053
€ 69.00

6
920551099
ref: 6
RING-O
920551099
€ 3.00

7
161261003
ref: 7
VALVE,AIR
161261003
€ 22.50

8
920551018
ref: 8
RING-O,AIR VALVE
920551018
€ 2.50

9
920331061
ref: 9
RING-SNAP,AIR VALVE
920331061
€ 2.50

10
130701041
ref: 10
GUIDE,SPRING
€ 7.00

11
130701042
ref: 11
GUIDE,SPRING
€ 7.00

12
920221235
ref: 12
WASHER,SPRING
€ 7.00

13
920151139
ref: 13
NUT,SPRING ADJUST
€ 20.50

14
920151140
ref: 14
NUT,SPRING ADJUST
€ 19.50

15
920921008
ref: 15
BUSHING-RUBBER,SHOCKA
€ 22.00

16
920811372
ref: 16
SPRING,RR SHOCK,STD
€ 165.50

16
920811320
ref: 16

I.D.=YELLOW/WHITE
SPRING
€ 129.50

16
920811322
ref: 16

I.D.=YELLOW/BLUE
SPRING
€ 129.50

17
920551102
ref: 17
RING-O,REAR SHOCK
920551102
€ 3.00

18
920551103
ref: 18
RING-O,REA SHOCK
920551103
€ 4.00

19
920281127
ref: 19
BUSHING,REAR SHOCK
920281127
€ 9.00

20
550201044
ref: 20
GUARD,AIR TANK
550201044
€ 9.50