×
Genuine KZ Kawasaki Parts delivered quickly!
home
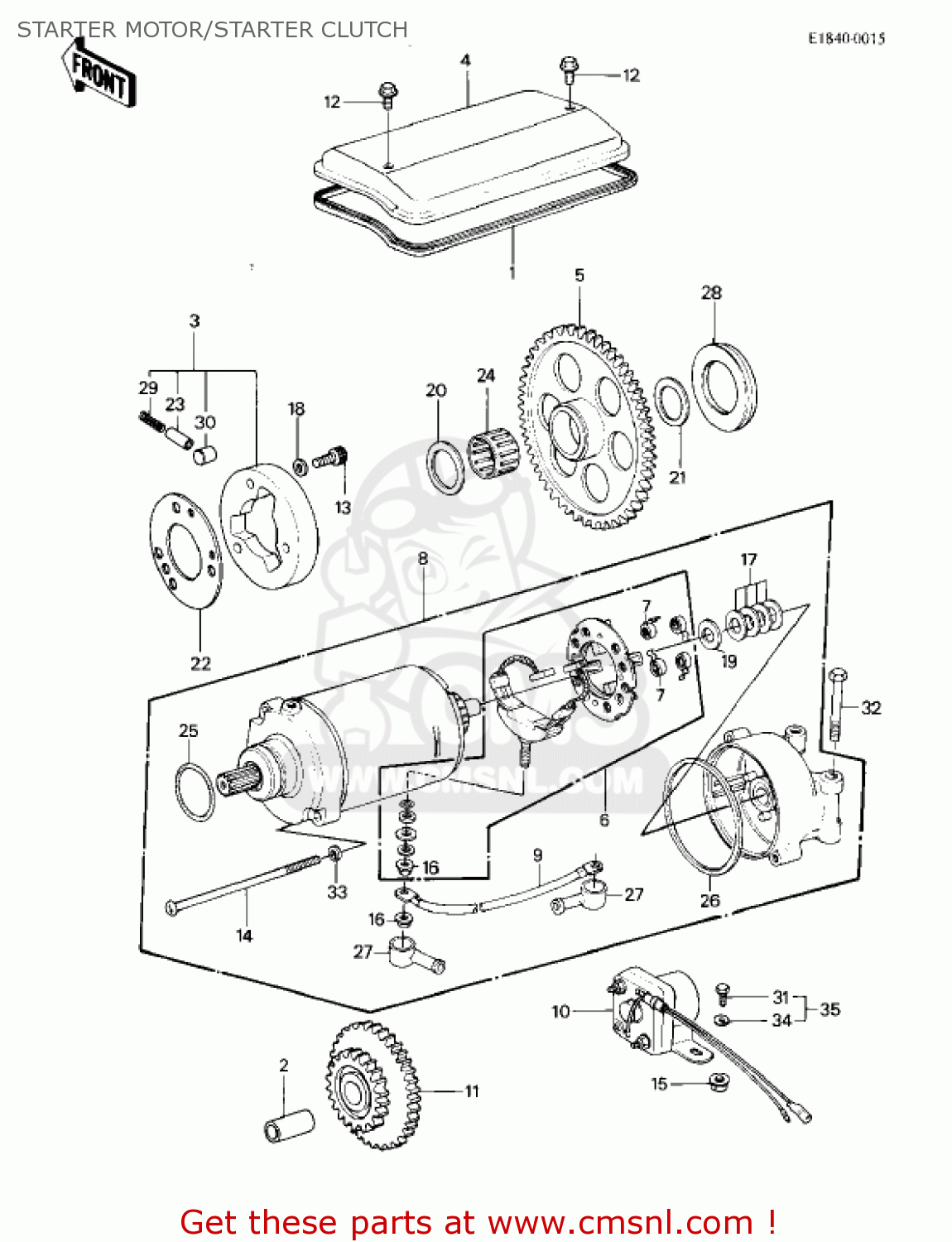
STARTER MOTOR/STARTER CLUTCH
KZ1000P5 POLICE 1000 1986 USA
Starter motor/starter clutch diagram KZ1000P5 POLICE 1000 1986 USA
STARTER MOTOR/STARTER CLUTCH KZ1000P5 POLICE 1000 1986 USA
×
prices are in EUR
ref
part #
description
quantity
1
21166001
ref: 1
GASKET,STARTER COVER (NAS)
€ 23.50
2
13002007
ref: 2
PIN
€ 13.00
3
131931006
ref: 3
CLUTCH-ASSY-ONEWAY
€ 150.50
4
140251245
ref: 4
COVER,STARTER
€ 26.00
5
160851012
ref: 5
GEAR,STARTER CLUTCH
€ 180.50
6
210391005
ref: 6
USE FOR 21163-1016/1
BRUSH,CARBON
€ 112.50
6
210391053
ref: 6
USE FOR 21163-1033
BRUSH,CARBON
€ 89.50
6
210391053
ref: 6
USE FOR 21163-1086
BRUSH,CARBON
€ 89.50
7
210401002
ref: 7
USE FOR 21039-1005
SPRING-BRUSH
€ 5.50
7
210401003
ref: 7
USE FOR 21039-1006/1
SPRING-BRUSH
€ 6.00
8
211631143
ref: 8
KZ1000-P1
STARTER-ELECTRIC
€ 666.00
8
211631143
ref: 8
KZ1000-P1/P2
STARTER-ELECTRIC
€ 666.00
8
211631143
ref: 8
KZ1000-P3/P4
STARTER-ELECTRIC
€ 666.00
8
211631086
ref: 8
KZ1000-P5
STARTER-ELECTRIC
€ 666.00
9
260111135
ref: 9
WIRE-LEAD,STARTER MOT
€ 51.50
10
270101047
ref: 10
SWITCH,MAGNETIC
€ 130.00
11
21167002
ref: 11
GEAR-STARTING MOTOR
€ 89.00
12
920011151
ref: 12
BOLT,6X10
€ 3.00
13
120P0816
ref: 13
BOLT-SOCKET
€ 2.50
14
21015005
ref: 14
SCREW-PAN HEAD,6X110
€ 5.50
15
920151078
ref: 15
NUT,6M/M
€ 1.50
16
920151078
ref: 16
NUT,6M/M
€ 1.50
17
21025011
ref: 17
WASHER, THRUST, 0.2T
€ 4.00
18
920221108
ref: 18
WASHER,8.5X13.5X2
€ 2.50
19
920221132
ref: 19
WASHER,9.1X18X0.8
€ 4.00
20
920261031
ref: 20
SPACER,(I=25,O=38)
€ 7.00
21
920261033
ref: 21
SPACER,25X34X2.0
€ 4.50
22
92026112
ref: 22
KZ1000-P1/P2/P3/P4
SPACER,45X79.5X0.5 (NAS)
€ 7.50
23
92043087
ref: 23
PIN
€ 8.00
24
920461022
ref: 24
BEARING-NEEDLE,K25302
€ 24.50
25
21027004
ref: 25
ORING-STARTING MOTR
€ 6.50
26
920551086
ref: 26
O RING,64MM
€ 6.50
27
21017017
ref: 27
KZ1000-P1/P2/P3/P4
GROMMET-CORD
€ 6.50
27
110121354
ref: 27
KZ1000-P5
CAP,TERMINAL
€ 7.00
28
920751129
ref: 28
DAMPER,T=6.3
€ 18.00
28
920751130
ref: 28
DAMPER,T=7.3
€ 15.00
28
920751131
ref: 28
DAMPER,T=8.3
€ 13.50
29
92081110
ref: 29
SPRING
€ 3.00
30
92122001
ref: 30
ROLLER,15X14.4
€ 7.50
31
112G0612
ref: 31
KZ1000-P1/P2/P3/P4
BOLT-UPSET
€ 2.50
32
920011456
ref: 32
KZ1000-P1/P2/P3/P4
BOLT,6X55
€ 3.00
32
920011456
ref: 32
KZ1000-P5
BOLT,6X55
€ 3.00
33
461F0500
ref: 33
KZ1000-P1/P2/P3/P4
WASHER-SPRING,5MM
€ 0.50
34
461F0600
ref: 34
WASHER-SPRING,6MM
€ 0.50
35
180B0612
ref: 35
KZ1000-P5
BOLT-UPSET-WS,6X12
€ 2.50
up
all assemblies
OWNER TOOLS
FAIRING
SIREN/POLE LAMP (OPTION)
GUARDS/SADDLEBAGS
HEADLIGHT/PURSUIT LIGHT
TAILLIGHT
TURN SIGNALS
CHASSIS ELECTRICAL EQUIPMENT
IGNITION SWITCH
CRANKSHAFT
CLUTCH
CYLINDER HEAD
TRANSMISSION
CYLINDER HEAD COVER
GEAR CHANGE DRUM & FORKS
CYLINDER/PISTON
GEAR CHANGE MECHANISM
AIR CLEANER
MUFFLERS
VALVES
CAMSHAFTS/CHAIN/TENSIONER
TIRES
FRONT WHEEL/HUB
REAR WHEEL/HUB/CHAIN
BRAKE PEDAL/TORQUE LINK
FRONT MASTER CYLINDER
CRANKCASE
CRANKCASE BOLT & STUD PATTERN
ENGINE COVERS
BREATHER COVER/OIL PAN
CARBURETOR ASSY
CARBURETOR PARTS
IGNITION
OIL PUMP/OIL FILTER
STARTER MOTOR/STARTER CLUTCH
GENERATOR/REGULATOR
SEAT
CARRIER
METERS
CABLES
SIDE COVERS/CHAIN COVER
FRAME
FRAME FITTINGS
BATTERY CASE/ELECTRO BRACKET
SWING ARM/SHOCK ABSORBERS
FOOTRESTS
FENDERS
STANDS
FRONT BRAKE
REAR MASTER CYLINDER
REAR BRAKE
HANDLEBAR
FRONT FORK
FUEL TANK
up