×
Genuine KE Kawasaki Parts delivered quickly!
home
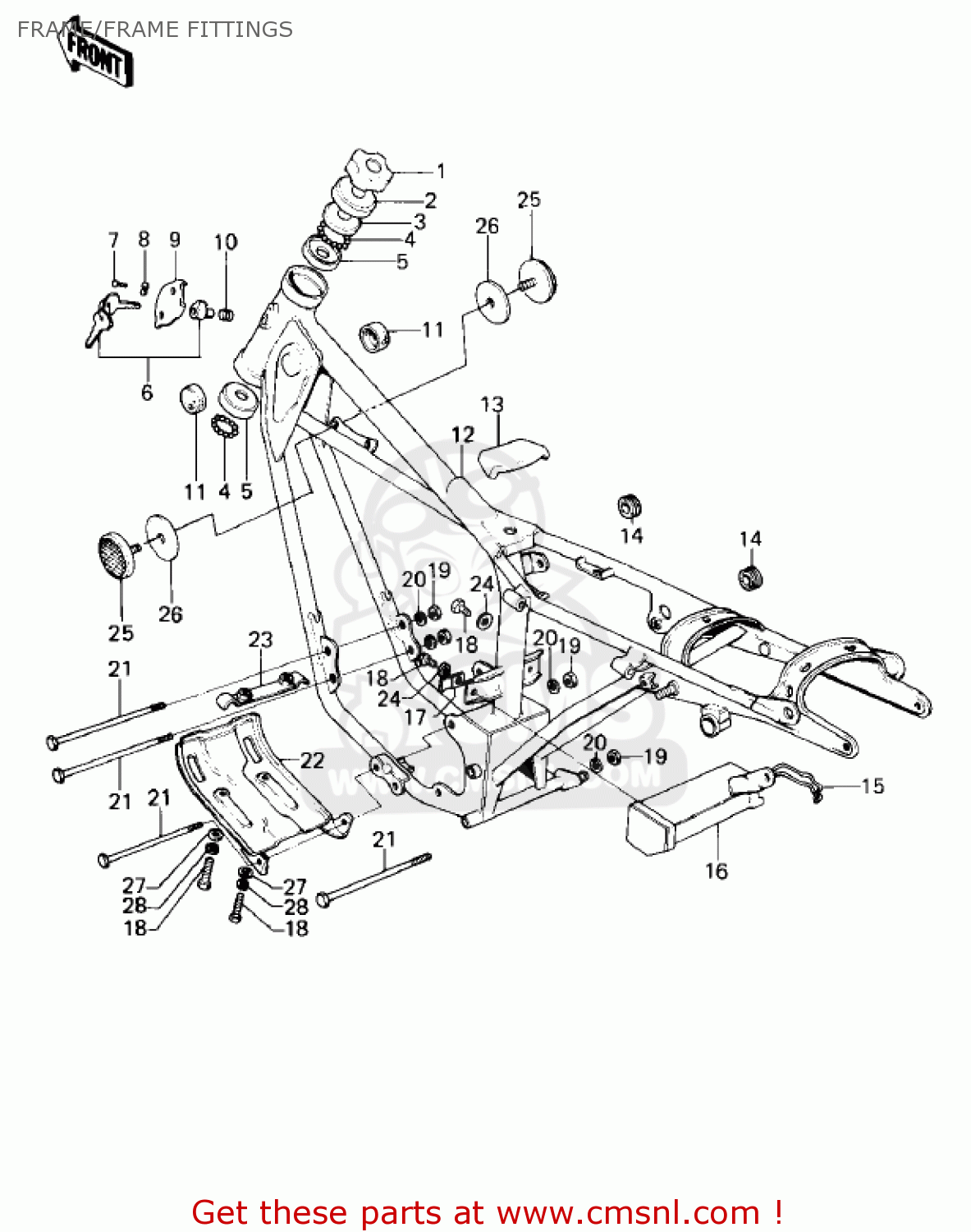
FRAME/FRAME FITTINGS
KE100-A10 KE100 1981 CANADA
Frame/frame fittings diagram KE100-A10 KE100 1981 CANADA
FRAME/FRAME FITTINGS KE100-A10 KE100 1981 CANADA
×
prices are in EUR
ref
part #
description
quantity
1
92090006
ref: 1
NUT-STEERING STEM LCK
€ 10.50
2
46098004
ref: 2
CAP-STEERING STEM
€ 4.00
3
92047005
ref: 3
CONE-UPPER BEARING
€ 10.50
4
600A0600
ref: 4
BALL-STEEL,3/16
€ 0.50
5
92048004
ref: 5
RACE-BEARING
€ 10.00
6
27016042
ref: 6
LOCK-ASSY,STEERING
€ 36.00
7
92008007
ref: 7
SCREW-TAPPING
€ 2.50
8
92097003
ref: 8
WASHER
€ 2.50
9
110121134
ref: 9
CAP,STEERING LOCK
€ 4.50
10
27032001
ref: 10
SPRING-STEERING LOCK
€ 3.50
11
92075101
ref: 11
DAMPER RUBBER-FL TANK
€ 4.00
12
32002137
ref: 12
KE100-A5/A6/A7
FRAME
€ 446.00
12
320021042
ref: 12
KE100-A8/A9
FRAME
€ 241.50
12
320021253
ref: 12
KE100-A10
FRAME,COMPLETE
€ 310.00
13
92075106
ref: 13
DAMPER,FUEL TANK
€ 10.00
14
92071056
ref: 14
GROMMET
€ 2.50
15
92079002
ref: 15
CLAMP,TOOL CASE
€ 8.00
16
32098018
ref: 16
CASE-TOOL
€ 51.00
17
92037070
ref: 17
CLAMP-BREATHER PIPE
€ 1.50
18
112B0614
ref: 18
BOLT-UPSET 6X14
€ 2.50
19
314B1000
ref: 19
NUT,10MM
€ 0.50
20
461F1000
ref: 20
WASHER-SPRING,10MM
€ 0.50
21
920011603
ref: 21
BOLT,FLANGED,10X115
€ 7.00
22
55011018
ref: 22
GUARD,ENGINE
€ 25.50
23
55016007
ref: 23
BRACKET,ENGINE GUARD
€ 12.50
24
411B0600
ref: 24
WASHER-PLAIN,6MM
€ 0.50
25
28012009
ref: 25
REFLECTOR-REFLEX,RR
€ 17.50
26
92094011
ref: 26
DAMPER,REFLECTOR
€ 3.00
27
410B0600
ref: 27
WASHER-PLAIN-SMALL,6M
€ 0.50
28
461F0600
ref: 28
WASHER-SPRING,6MM
€ 0.50
up
all assemblies
CYLINDER HEAD/CYLINDER
CRANKSHAFT/PISTON/ROTARY VALVE
CRANKCASE (KE100-A5/A6)
CRANKCASE (KE100-A7/A8/A9/A10)
CLUTCH
TRANSMISSION/CHANGE DRUM(KE100-A
TRANSMISSION (KE100-A9/A10)
GEAR CHANGE DRUM & FORKS (KE100-
GEAR CHANGE MECHANISM (KE100-A5/
GEAR CHANGE MECHANISM (KE100-A9/
KICKSTARTER MECHANISM
FRONT FORK (KE100-A9/A10)
WHEELS/TIRES
FRONT HUB/BRAKE
REAR HUB/BRAKE/CHAIN
FRONT FENDER
ENGINE COVERS
OIL PUMP
CARBURETOR (KE100-A5/A6/A7/A8)
CARBURETOR (KE100-A9/A10)
AIR CLEANER
FRAME/FRAME FITTINGS
BATTERY CASE
SWING ARM/SHOCK ABSORBERS
FOOTRESTS/STAND/BRAKE PEDAL
HANDLEBAR
FRONT FORK (KE100-A5/A6/A7/A8)
REAR FENDER
FUEL TANK
SIDE COVER/OIL TANK
SEAT/CHAIN COVER
CABLES
METERS/IGNITION SWITCH
HEADLIGHT
MUFFLER
IGNITION/GENERATOR/REGULATOR
TAILLIGHT
TURN SIGNALS (KE100-A5/A6/A7/A8/
TURN SIGNALS (KE100-A10)
CHASSIS ELECTRICAL EQUIPMENT
OWNER TOOLS
up