×
Genuine KDX Kawasaki Parts delivered quickly!
home
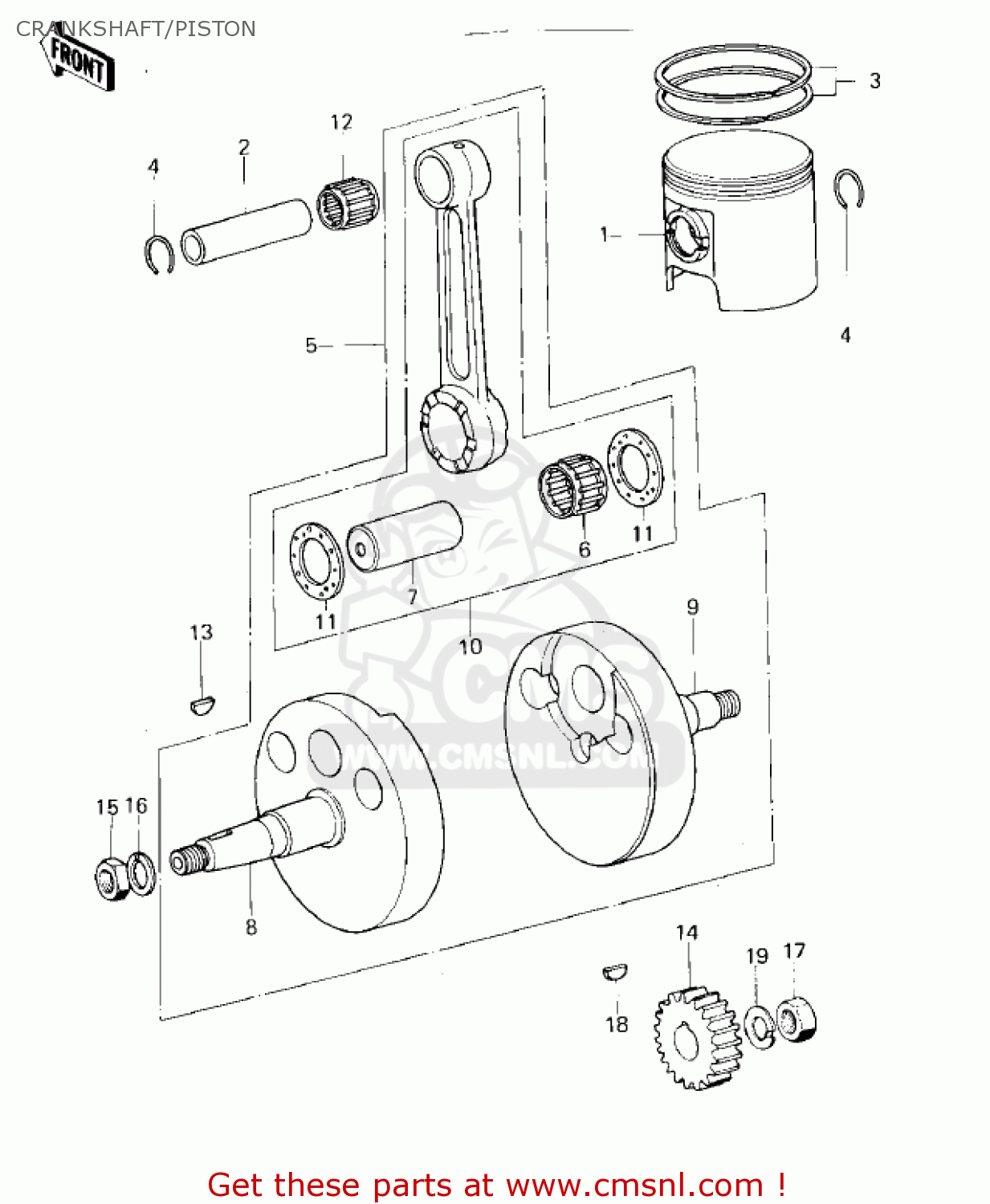
CRANKSHAFT/PISTON
KDX80-A2 KDX80 1981 AUSTRIA
Crankshaft/piston diagram KDX80-A2 KDX80 1981 AUSTRIA
CRANKSHAFT/PISTON KDX80-A2 KDX80 1981 AUSTRIA
×
prices are in EUR
ref
part #
description
quantity
1
130011082
ref: 1
PISTON-ENGINE
€ 52.50
2
130021009
ref: 2
PIN-PISTON
€ 14.50
3
130085011
ref: 3
RING-SET-PISTON,STD
€ 47.50
4
92036003
ref: 4
CIRCLIP-PISTON PIN
€ 0.50
5
130311027
ref: 5
CRANKSHAFT ASSY
€ 249.50
6
130341015
ref: 6
BEARING,NEEDLE
€ 34.50
7
130351002
ref: 7
PIN,CRANK
€ 17.00
8
130371053
ref: 8
CRANKSHAFT,L.H
€ 118.00
9
130371054
ref: 9
CRANKSHAFT,R.H
€ 70.50
10
130445014
ref: 10
CONNECTING ROD SET
€ 69.50
11
92025005
ref: 11
SHIM,20X34.5X1.0
€ 4.50
12
13033030
ref: 12
BEARING-NEEDLE,KTV141
€ 23.50
13
510A3200
ref: 13
KEY-WOODRUFF
€ 1.50
14
130971021
ref: 14
GEAR,PRIMARY
€ 40.50
15
314G1000
ref: 15
NUT,10M/M
€ 1.00
16
461F1000
ref: 16
WASHER-SPRING,10MM
€ 0.50
17
92015006
ref: 17
NUT,12MM
€ 3.50
18
92038003
ref: 18
WOODRUFF KEY-PRY PINI
€ 1.50
19
92024003
ref: 19
WASHER,CLAW,12.5X25X0
€ 2.50
up
all assemblies
CYLINDER HEAD/CYLINDER/REED VALV
CRANKSHAFT/PISTON
CRANKCASE
CLUTCH
TRANSMISSION
GEAR CHANGE DRUM & FORKS
GEAR CHANGE MECHANISM
MUFFLER
IGNITION
FRAME/FRAME FITTINGS
SWING ARM/SHOCK ABSORBERS
FOOTRESTS/STAND
BRAKE PEDAL/TORQUE LINK
HANDLEBAR
FRONT FORK
WHEELS/TIRES
CABLES/NUMBER PLATE
OWNER TOOLS/SPECIAL SERVICE TOOL
KICKSTARTER MECHANISM
ENGINE COVERS
CARBURETOR
AIR CLEANER
FRONT HUB/BRAKE
REAR HUB/BRAKE/CHAIN
FENDERS
FUEL TANK
SEAT/SIDE COVERS
up