×
Genuine KX Kawasaki Parts delivered quickly!
home
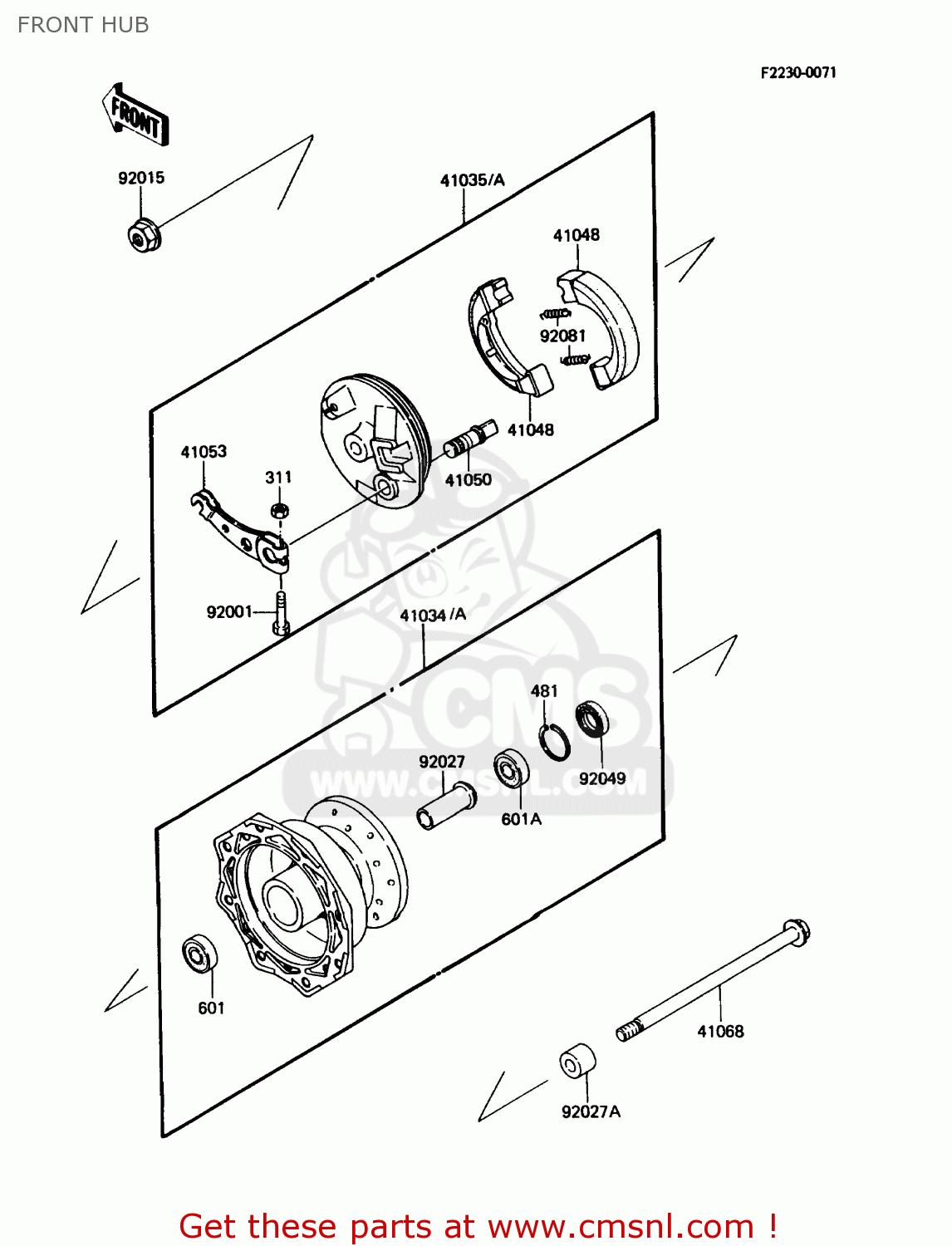
FRONT HUB
KX60-B4 1988 USA
Front hub diagram KX60-B4 1988 USA
FRONT HUB KX60-B4 1988 USA
×
prices are in EUR
ref
part #
description
quantity
311
311G0500
ref: 311
NUT-HEX
€ 2.50
481
481J3500
ref: 481
CIRCLIP-TYPE-C,35MM
€ 1.00
601
601B6200UU
ref: 601
BEARING-BALL,#6200UUC
€ 18.00
601A
601B6300UU
ref: 601A
BEARING-BALL,#6300UUC
€ 23.50
41034A
410341168
ref: 41034A
DRUM-ASSY,FRONT BRAKE
€ 256.00
41035A
410351234
ref: 41035A
PANEL-ASSY-BRAKE,FR
€ 94.50
41048
410481022
ref: 41048
SHOE-BRAKE (MCA)
€ 13.00
41050
410501031
ref: 41050
CAM-BRAKE
€ 17.50
41053
410531027
ref: 41053
LEVER-BRAKE CAM,FR
€ 40.00
41068
410681077
ref: 41068
AXLE,FRONT,10X181
€ 21.00
92001
920011695
ref: 92001
BOLT,5X25
€ 3.00
92015
920151415
ref: 92015
NUT,10MM
€ 3.00
92027
920271470
ref: 92027
COLLAR,FRONT DRUM,L=5
€ 9.50
92027A
920271472
ref: 92027A
COLLAR,FRONT AXLE,L=1
€ 9.50
92049
920491095
ref: 92049
SEAL-OIL,DD20357
€ 11.00
92081
920811564
ref: 92081
SPRING,BRAKE SHOE
€ 3.50
up
all assemblies
CYLINDER HEAD/CYLINDER
AIR CLEANER
MUFFLER(S)
CRANKSHAFT/PISTON(S)
KICKSTARTER MECHANISM
CLUTCH
TRANSMISSION
GEAR CHANGE DRUM/SHIFT FORK(S)
GEAR CHANGE MECHANISM
CRANKCASE
ENGINE COVER(S)
CARBURETOR
GENERATOR
IGNITION SYSTEM
RADIATOR
FRAME
FRAME FITTINGS
SWINGARM
REAR SUSPENSION
FOOTRESTS
FENDERS
STAND(S)
WHEELS/TIRES
FRONT HUB
REAR HUB
BRAKE PEDAL
SHOCK ABSORBER(S)
HANDLEBAR
FRONT FORK
FUEL TANK
SEAT
CABLES
SIDE COVERS
OWNER'S TOOLS
LABELS
OPTIONAL PARTS
ACCESSORY
1985 KX60-B1 00
1986 KX60-B2 00
1987 KX60-B3 00
1988 KX60-B4 00
Publications
Model Identification
up