×
Genuine KX Kawasaki Parts delivered quickly!
home
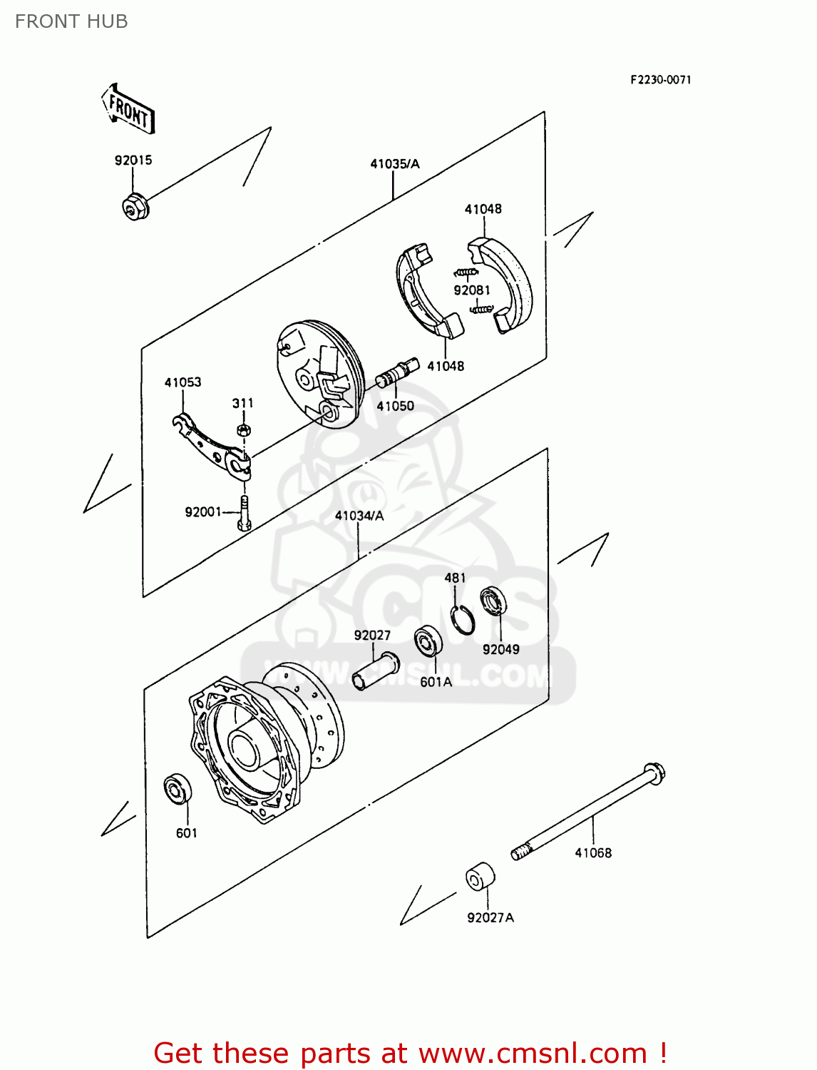
FRONT HUB
KX60-B1 1985 UNITED KINGDOM
Front hub diagram KX60-B1 1985 UNITED KINGDOM
FRONT HUB KX60-B1 1985 UNITED KINGDOM
×
prices are in EUR
ref
part #
description
quantity
311
311G0500
ref: 311
NUT-HEX
€ 2.50
481
481J3500
ref: 481
CIRCLIP-TYPE-C,35MM
€ 1.00
601
601B6200UU
ref: 601
BEARING-BALL,#6200UUC
€ 18.00
601A
601B6300UU
ref: 601A
BEARING-BALL,#6300UUC
€ 23.50
41034
410341061
ref: 41034
DRUM-ASSY,FRONT BRAKE
€ 226.50
41035
410351098
ref: 41035
PANEL-ASSY-BRAKE,FR
€ 108.50
41048
410481022
ref: 41048
SHOE-BRAKE (MCA)
€ 13.00
41050
410501031
ref: 41050
CAM-BRAKE
€ 17.50
41053
410531027
ref: 41053
LEVER-BRAKE CAM,FR
€ 40.00
41068
410681077
ref: 41068
AXLE,FRONT,10X181
€ 21.00
92001
920011695
ref: 92001
BOLT,5X25
€ 3.00
92015
920151415
ref: 92015
NUT,10MM
€ 3.00
92027
920271470
ref: 92027
COLLAR,FRONT DRUM,L=5
€ 9.50
92027A
920271472
ref: 92027A
COLLAR,FRONT AXLE,L=1
€ 9.50
92049
920491095
ref: 92049
SEAL-OIL,DD20357
€ 11.00
92081
920811564
ref: 92081
SPRING,BRAKE SHOE
€ 3.50
up
all assemblies
CYLINDER HEAD/CYLINDER
AIR CLEANER
MUFFLER(S)
CRANKSHAFT/PISTON(S)
KICKSTARTER MECHANISM
CLUTCH
TRANSMISSION
GEAR CHANGE DRUM/SHIFT FORK(S)
GEAR CHANGE MECHANISM
CRANKCASE
ENGINE COVER(S)
CARBURETOR(KX60-B1/B2/B3)
GENERATOR
IGNITION SYSTEM
RADIATOR
FRAME
FRAME FITTINGS
SWINGARM
SUSPENSION
FOOTRESTS
FENDERS
STAND(S)
TIRES
FRONT HUB
REAR HUB
BRAKE PEDAL
SHOCK ABSORBER(S)
HANDLEBAR
FRONT FORK
FUEL TANK
SEAT
CABLES
SIDE COVERS
OWNER'S TOOLS
LABELS
OPTIONAL PARTS(SPROCKET-HAB)
ACCESSORY
1985 KX60-B1 00
1986 KX60-B2 00
1987 KX60-B3 00
1988 KX60-B4 00
1989 KX60-B5 00
Publications
Model Identification
up