×
Genuine EX Kawasaki Parts delivered quickly!
home
EX250F2 GPX250R 1988 UNITED KINGDOM
CYLINDER HEAD
20 products
CYLINDER HEAD COVER
6 products
CYLINDER/PISTON(S)
14 products
AIR CLEANER
21 products
MUFFLER(S)
11 products
VALVE(S)
12 products
CAMSHAFT(S)/TENSIONER
24 products
CRANKSHAFT
23 products
CLUTCH
16 products
TRANSMISSION
26 products
GEAR CHANGE DRUM/SHIFT FORK(S)
21 products
GEAR CHANGE MECHANISM
15 products
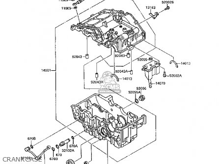
CRANKCASE
25 products
CRANKCASE BOLT PATTERN
7 products
ENGINE COVER(S)
21 products
CARBURETOR
44 products
CARBURETOR PARTS
30 products
OIL PUMP
20 products
GENERATOR
8 products
IGNITION SYSTEM
9 products
STARTER MOTOR
33 products
RADIATOR(&NAMI.EX250F-004010)
54 products
RADIATOR(EX250F-004011&NAMI.)
54 products
1988 EX250-F2 00
0 products
1989 EX250-F3 00
0 products
FRAME
8 products
FRAME FITTINGS
8 products
ELECTRO BRACKET
19 products
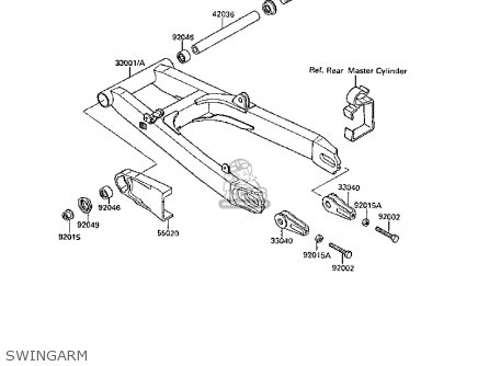
SWINGARM
10 products
SUSPENSION/SHOCK ABSORBER
19 products
FOOTRESTS
16 products
FENDERS
15 products
STAND(S)
10 products
TIRES
5 products
FRONT HUB
16 products
REAR HUB
22 products
BRAKE PEDAL
10 products
FRONT MASTER CYLINDER
20 products
FRONT BRAKE(&NAMI.EX250F-001647)
18 products
FRONT BRAKE(EX250F-001648&NAMI.)
18 products
REAR MASTER CYLINDER
23 products
REAR BRAKE(&NAMI.EX250F-000398)
15 products
REAR BRAKE(EX250F-000399&NAMI.)
15 products
HANDLEBAR
26 products
FRONT FORK
30 products
FUEL TANK
25 products
SEAT
5 products
METER(S)
16 products
CABLES
7 products
SIDE COVERS/CHAIN COVER
9 products
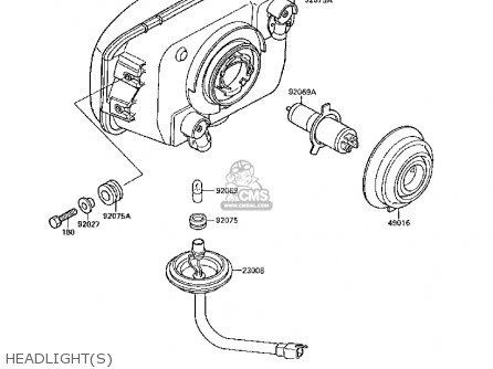
HEADLIGHT(S)
9 products
TAILLIGHT(S)
23 products
TURN SIGNALS
15 products
CHASSIS ELECTRICAL EQUIPMENT
22 products
IGNITION SWITCH
19 products
OWNER'S TOOLS
17 products
LABELS
5 products
DECALS(EBONY)
14 products
COWLING
26 products
COWLING LOWERS
20 products
Publications
0 products
Model Identification
0 products
up
popular products
921103703
TOOL-WRENCH,ALLEN,4MM
Kawasaki
131691661
PLATE,CHAIN GUIDE
Kawasaki
920631114
JET-MAIN,#110
Kawasaki
671B2550
O RING,50MM
Kawasaki